授权公布号:CN206659089U
一种用于制备营养品的胶囊
有效
申请
2017-04-06
申请公布
1970-01-01
授权
2017-11-24
预估到期
2027-04-06
| 申请号 | CN201720355872.9 |
| 申请日 | 2017-04-06 |
| 授权公布号 | CN206659089U |
| 授权公告日 | 2017-11-24 |
| 分类号 | A23P10/30 |
| 分类 | 其他类不包含的食品或食料;及其处理; |
| 申请人名称 | 贝因美股份有限公司 |
| 申请人地址 | 浙江省杭州市滨江区南环路3758号 |
专利法律状态
2020-02-04
专利权人的姓名或者名称、地址的变更
状态信息
专利权人的姓名或者名称、地址的变更IPC(主分类):A23P10/30变更前 专利权人:贝因美婴童食品股份有限公司 地址:310052 浙江省杭州市滨江区南环路3758号变更后 专利权人:贝因美股份有限公司 地址:310053 浙江省杭州市滨江区伟业路1号10幢
2017-11-24
授权
状态信息
授权
摘要
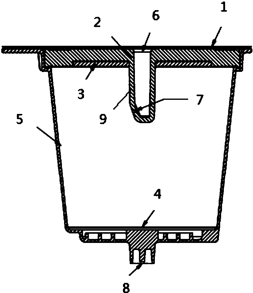
本实用新型提供了一种用于制备营养品的胶囊,包括:胶囊杯体、胶囊顶盖和胶囊底壁;所述胶囊顶盖设置于胶囊杯体上部;所述胶囊顶盖包括胶囊顶盖本体和伸入胶囊杯体内部、且与所述胶囊顶盖本体部分垂直设置的中空立柱;所述中空立柱上设置有进水口和出水口;设置于所述胶囊顶盖上的胶囊顶膜;设置于胶囊顶盖下,用于盖住胶囊顶盖本体部分的胶囊盖板;所述胶囊底壁设置于胶囊杯体的底部,所述胶囊底壁上设置有胶囊底膜;所述胶囊底壁上设置有用于刺破胶囊底膜的针刺原件和营养品出水口。本实用新型的进水和进气均从进水口进入,简化了胶囊结构。并且胶囊顶盖的特定结构以及出水口的设置使得水与营养品混合的更加均匀,循环融化更加彻底。


