授权公布号:CN216035351U
一种用于粉丝自动包装的装置
有效
申请
2021-07-07
申请公布
1970-01-01
授权
2022-03-15
预估到期
2031-07-07
| 申请号 | CN202121538231.X |
| 申请日 | 2021-07-07 |
| 授权公布号 | CN216035351U |
| 授权公告日 | 2022-03-15 |
| 分类号 | B65B25/00 |
| 分类 | 输送;包装;贮存;搬运薄的或细丝状材料; |
| 申请人名称 | 烟台双塔食品股份有限公司 |
| 申请人地址 | 山东省烟台市招远金岭镇寨里 |
专利法律状态
2022-03-15
授权
状态信息
授权
摘要
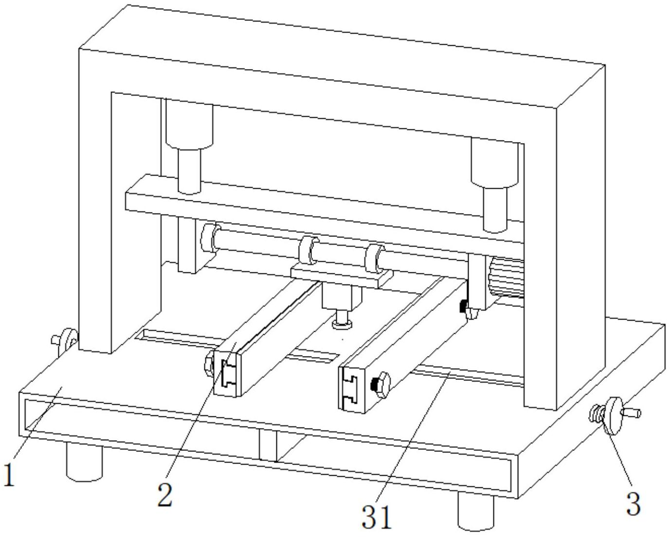
本实用新型提供了一种用于粉丝自动包装的装置,包括工作台,工作台的顶部滑动设置有用于夹持装有粉丝的装包袋夹持组件,夹持组件包括夹紧板,夹紧板与工作台的连接处设置有用于驱动夹紧板移动的驱动组件,驱动组件包括螺纹对称穿设于工作台两侧表面的丝杆、与螺纹套接于处于工作台空腔内丝杆表面的滚珠螺母、以及连接于滚珠螺母顶面的限位滑柱;通过设置的丝杆与滚珠螺母之间的螺纹转动配合,能够带动着安装在限位滑柱顶部的夹紧板在工作台的顶部进行移动,致使能够将安装在夹紧板一侧的防磨垫移动至抵在包装袋的一侧,继而实现了能够便捷且库阿斯的对放置在工作台上装有粉丝的包装袋进行稳固的夹持,继而提高了装置在封边时的精准性。


