授权公布号:CN116714823B
一种粉丝自动捆扎包装机
有效
申请
2023-08-07
申请公布
2023-09-08
授权
2023-10-03
预估到期
2043-08-07
| 申请号 | CN202310983880.8 |
| 申请日 | 2023-08-07 |
| 申请公布号 | CN116714823A |
| 申请公布日 | 2023-09-08 |
| 授权公布号 | CN116714823B |
| 授权公告日 | 2023-10-03 |
| 分类号 | B65B13/32 |
| 分类 | 输送;包装;贮存;搬运薄的或细丝状材料; |
| 申请人名称 | 烟台双塔食品股份有限公司 |
| 申请人地址 | 山东省烟台市招远市金岭镇寨里 |
专利法律状态
2023-10-03
授权
状态信息
授权
2023-09-26
实质审查的生效
状态信息
实质审查的生效;IPC(主分类):B65B 13/32;专利申请号:2023109838808;申请日:20230807
2023-09-08
公布
状态信息
公布
摘要
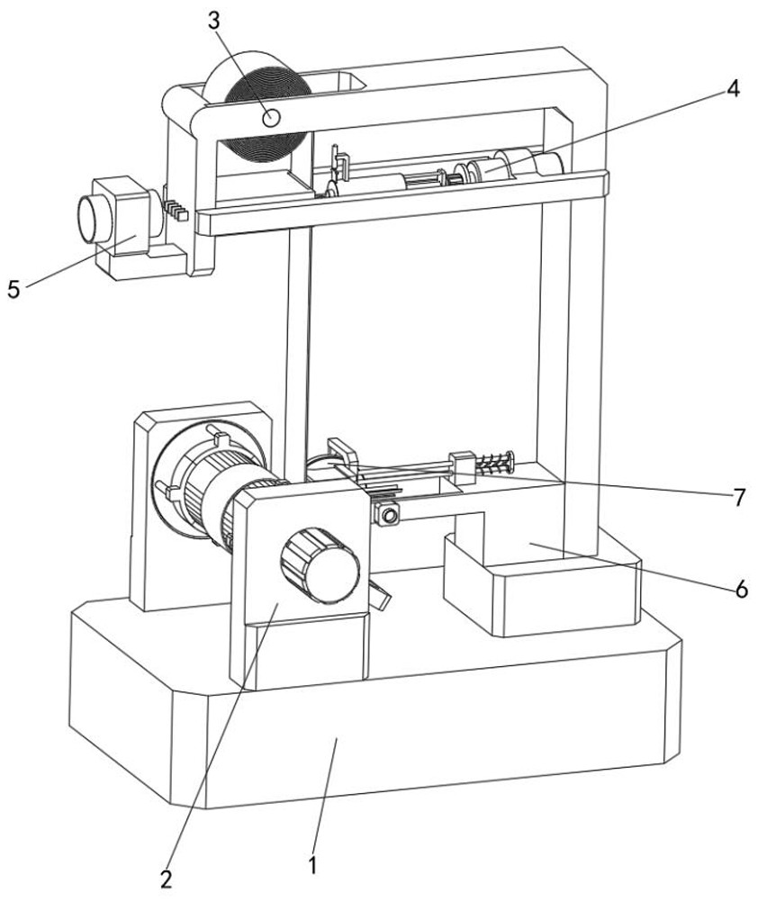
本发明属于捆扎包装技术领域,公开了一种粉丝自动捆扎包装机,包括底座,还包括:夹持组件,设置于底座上,用于夹持固定粉丝并带动粉丝旋转捆扎;供带组件,设置于底座上,包括有支架,用于卷绕旋转投放捆扎带;打胶组件,设置于供带组件上,用于对捆扎带移动定量打胶;冷却组件,设置于供带组件上,用于对捆扎带粘黏的胶进行冷却凝固;粘胶组件,设置于供带组件上,用于对捆扎带上冷却凝固的胶热熔,使其粘黏;矫正组件,设置于粘胶组件上,用于旋转矫正定长粘胶和切断捆扎带。本发明可以防止粉丝捆扎包装时热熔胶向下流动导致热熔胶偏移既定的粘胶位置,同时提高了热熔胶的稳定性。


