授权公布号:CN218155192U
一种粉条加工用晾干装置
有效
申请
2022-09-30
申请公布
1970-01-01
授权
2022-12-27
预估到期
2032-09-30
| 申请号 | CN202222612642.X |
| 申请日 | 2022-09-30 |
| 授权公布号 | CN218155192U |
| 授权公告日 | 2022-12-27 |
| 分类号 | F26B9/10;F26B25/00;F26B25/18 |
| 分类 | 干燥; |
| 申请人名称 | 兴文县金鹅粉业有限责任公司 |
| 申请人地址 | 四川省宜宾市兴文县太平镇工业园区(兴文县太平镇顺龙大道29号) |
专利法律状态
2022-12-27
授权
状态信息
授权
摘要
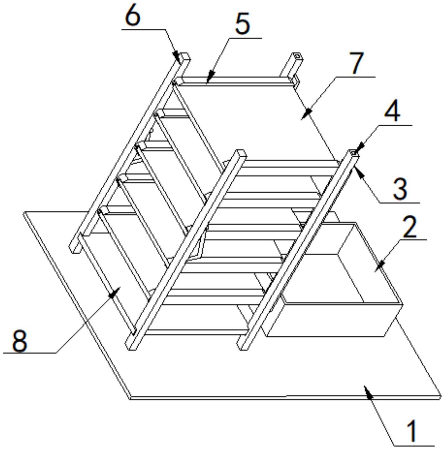
本实用新型公开了一种粉条加工用晾干装置,属于粉条加工领域,包括一承载板,承载板上端面固定安装有两固定杆及活动设有两活动杆和一收集箱。本实用新型的粉条加工用晾干装置,设置晾板上端面供防止粉条进行晾干,并通过晾板在连接件具有的滑槽内滑动,进而带动晾板进行倾斜将粉条倾倒入收集箱内完成收集,提升晾干粉条的收集效率;设置底板对该装置的折叠功能进行限制并提升该装置的稳定性;通过设置限位杆插入固定杆顶部的限位孔内使活动杆的抬升姿态保持稳定,进而使该装置的折叠形态进行保持,减小了该装置闲置时的占地面积,最终实现该装置提升粉条晾干收放效率、节省占地空间的效果。


