授权公布号:CN206485816U
一种生产棒酸含乳饮料的储存装置
有效
申请
2016-11-21
申请公布
1970-01-01
授权
2017-09-12
预估到期
2026-11-21
| 申请号 | CN201621241665.2 |
| 申请日 | 2016-11-21 |
| 授权公布号 | CN206485816U |
| 授权公告日 | 2017-09-12 |
| 分类号 | B65D88/74 |
| 分类 | 输送;包装;贮存;搬运薄的或细丝状材料; |
| 申请人名称 | 山东阳春羊奶乳业有限公司 |
| 申请人地址 | 山东省潍坊市潍安路169号(阳春羊奶产业园) |
专利法律状态
2017-09-12
授权
状态信息
授权
摘要
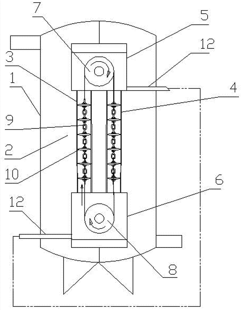
本实用新型提供了一种生产棒酸含乳饮料的储存装置,包括储存罐,所述储存罐内设有冷却装置,所述冷却装置与储存罐之间的空腔为储存室,所述冷却装置包括设置在储存罐内部的两根竖管,分别左竖管和右竖管,两根竖管顶部设有上箱体,两根竖管底部设有下箱体,所述上箱体内设有从动滚轮,所述下箱体内设有主动滚轮,所述从动滚轮和主动滚轮上饶有柔性链条,所述柔性链条上设有若干个挡片,所述挡片在竖管内滑动。该装置采用芯部冷却方式,朝向四周释放冷源,冷却效果好,能源能够充分利用,并且设置独立的冷源腔室,冷却时能够实现逐级冷却,罐体恒温效果好,同样的温度和同样计量的冷却剂冷却时间更长,能耗更低,使用效果更好。


