授权公布号:CN206334573U
一种生产棒酸含乳饮料的高速搅拌装置
有效
申请
2016-11-21
申请公布
1970-01-01
授权
2017-07-18
预估到期
2026-11-21
| 申请号 | CN201621242355.2 |
| 申请日 | 2016-11-21 |
| 授权公布号 | CN206334573U |
| 授权公告日 | 2017-07-18 |
| 分类号 | B01F7/16;B01F15/02 |
| 分类 | 一般的物理或化学的方法或装置; |
| 申请人名称 | 山东阳春羊奶乳业有限公司 |
| 申请人地址 | 山东省潍坊市潍安路169号(阳春羊奶产业园) |
专利法律状态
2017-07-18
授权
状态信息
授权
摘要
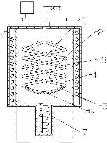
本实用新型公开了一种生产棒酸含乳饮料的高速搅拌装置,果汁通过搅拌轴进入第一搅拌构件和第二搅拌构件,并通过第一搅拌构件和第二搅拌构件上的出水管加入至棒酸含乳饮料中,第一搅拌构件的下端与第二搅拌构件的下端连接有连接管,连接管穿过搅拌轴并与搅拌轴相连通,果汁通过搅拌轴进入连接管,并通过连接管上的喷水孔加入至棒酸含乳饮料中,搅拌轴高速旋转带动第一搅拌构件、第二搅拌构件、螺旋搅拌器、连接管高速旋转,使果汁与棒酸含乳饮料充分混合,该高速搅拌装置结构简单、使用方便、果汁与棒酸含乳饮料的混合均匀度高,大大提高了棒酸含乳饮料的口感。


