授权公布号:CN218690521U
一种具有角度调节结构的高速冷冻离心机
有效
申请
2022-11-08
申请公布
1970-01-01
授权
2023-03-24
预估到期
2032-11-08
| 申请号 | CN202222970777.3 |
| 申请日 | 2022-11-08 |
| 授权公布号 | CN218690521U |
| 授权公告日 | 2023-03-24 |
| 分类号 | B04B9/08;B04B9/02;B04B7/00 |
| 分类 | 用于实现物理或化学工艺过程的离心装置或离心机; |
| 申请人名称 | 汉臣氏(沈阳)儿童制品有限公司 |
| 申请人地址 | 辽宁省沈阳市胡台新城振兴八街35号 |
专利法律状态
2023-03-24
授权
状态信息
授权
摘要
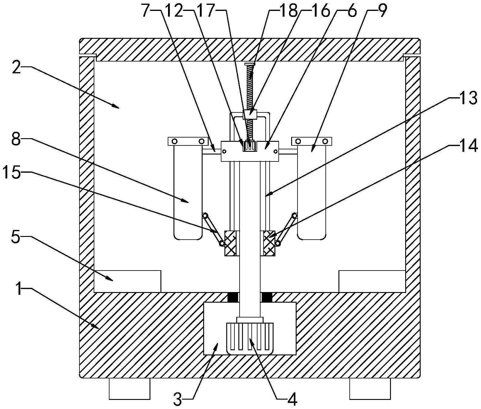
本实用新型公开了一种具有角度调节结构的高速冷冻离心机,包括离心箱,所述离心箱内设置有离心仓和驱动腔,所述驱动腔的内部设置有驱动电机一,所述驱动电机一的输出轴贯穿离心箱延伸至离心仓内且顶端设置有顶盘,所述顶盘的侧壁通过支杆转动连接有试管仓,所述试管仓的顶部设置有紧固组件,所述顶盘上贯穿有U型架。本实用新型中,通过驱动电机带动螺纹柱转动,螺纹柱通过螺套带动U型架上下移动,U型架带动滑套同步移动,滑套带动连杆转动,连杆转动带动试管仓围绕支杆的转动点转动,从而对试管仓角度进行调节,便于根据不同的检测样品调节离心机的离心力,有利于提高离心机的检测效果。


