授权公布号:CN214986539U
一种胶囊智能数粒机
有效
申请
2021-03-19
申请公布
1970-01-01
授权
2021-12-03
预估到期
2031-03-19
| 申请号 | CN202120561777.0 |
| 申请日 | 2021-03-19 |
| 授权公布号 | CN214986539U |
| 授权公告日 | 2021-12-03 |
| 分类号 | B65B57/20 |
| 分类 | 输送;包装;贮存;搬运薄的或细丝状材料; |
| 申请人名称 | 浙江民生健康科技有限公司 |
| 申请人地址 | 浙江省湖州市安吉县递铺街道阳光大道3999号 |
专利法律状态
2021-12-03
授权
状态信息
授权
摘要
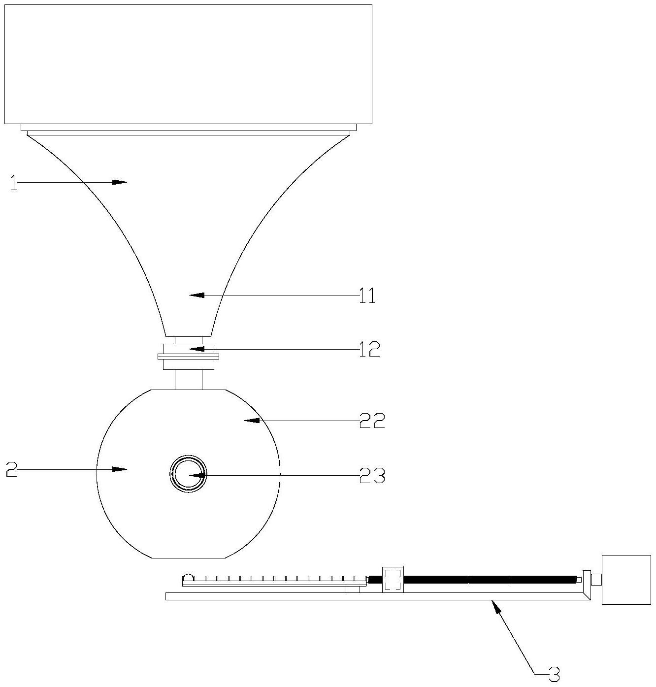
本实用新型公开了一种胶囊智能数粒机,包括进料斗、旋转式数粒单元、称重式数粒单元和控制器,所述旋转式数粒单元包括数粒盘、壳体和第一电机,所述数粒盘安装在壳体内并由第一电机驱动转动,所述数粒盘的外缘均匀设有若干个凹口并与数粒盘之间形成转移空隙,所述壳体顶端的进料口对准进料斗的出料管,所述称重式数粒单元包括第二电机、支撑座、驱动器和称重托盘,所述称重托盘位于壳体底端的出料口之下,所述称重托盘由安装在支撑座之上的驱动器驱动而水平移动,所述支撑座由第二电机驱动转动,所述控制器分别与进料斗、旋转式数粒单元和称重式数粒单元电连接,计数效率高,计数精确性高。


