授权公布号:CN215207128U
一种翻转式理瓶机
有效
申请
2021-03-18
申请公布
1970-01-01
授权
2021-12-17
预估到期
2031-03-18
| 申请号 | CN202120558341.6 |
| 申请日 | 2021-03-18 |
| 授权公布号 | CN215207128U |
| 授权公告日 | 2021-12-17 |
| 分类号 | B65G47/248;B65G47/90;B65G47/26 |
| 分类 | 输送;包装;贮存;搬运薄的或细丝状材料; |
| 申请人名称 | 浙江民生健康科技有限公司 |
| 申请人地址 | 浙江省湖州市安吉县递铺街道阳光大道3999号 |
专利法律状态
2021-12-17
授权
状态信息
授权
摘要
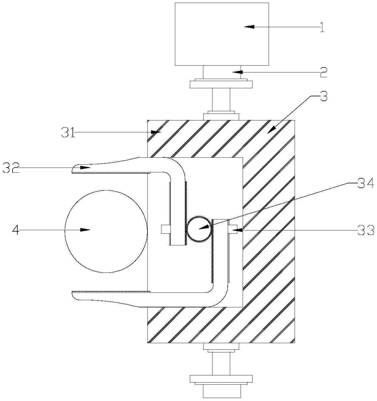
本实用新型公开了一种翻转式理瓶机,包括第一电机、支撑架、转筒和控制器,所述转筒包括筒体、夹爪和第二电机,所述夹爪和爪体驱动器分别安装在筒体之内,所述夹爪的一端从筒体的弧面筒壁处伸出并由爪体驱动器驱动而张开或者夹紧,所述筒体的直面筒壁处同心设有中轴并分别通过轴承可转动连接在支撑架上,所述中轴由第一电机驱动转动,所述第一电机和爪体驱动器分别与控制器电连接。本实用新型通过第一电机驱动转筒转动,再利用爪体驱动器驱动位于筒体的弧面筒壁处的夹爪收紧或者放松,从而实现药瓶的抓放和180°翻转,结构简单,工作效率高,能够大大节约人工。


