授权公布号:CN215205805U
一种立式圆瓶贴标机
有效
申请
2021-03-18
申请公布
1970-01-01
授权
2021-12-17
预估到期
2031-03-18
| 申请号 | CN202120555875.3 |
| 申请日 | 2021-03-18 |
| 授权公布号 | CN215205805U |
| 授权公告日 | 2021-12-17 |
| 分类号 | B65C3/14;B65C9/02;B65C9/18;B65C9/26;B65C9/40 |
| 分类 | 输送;包装;贮存;搬运薄的或细丝状材料; |
| 申请人名称 | 浙江民生健康科技有限公司 |
| 申请人地址 | 浙江省湖州市安吉县递铺街道阳光大道3999号 |
专利法律状态
2021-12-17
授权
状态信息
授权
摘要
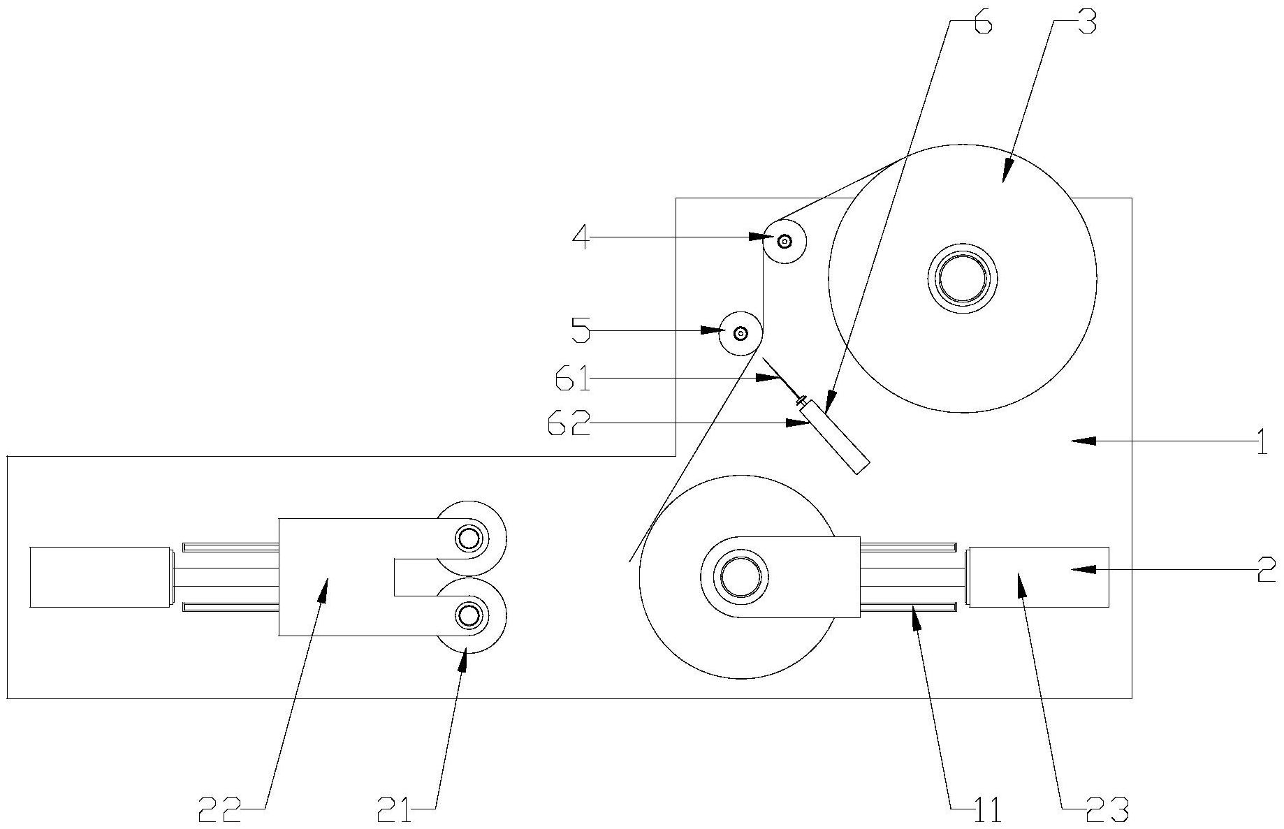
本实用新型公开了一种立式圆瓶贴标机,包括支撑座、瓶体夹持器、标签放卷器、导料辊、限制辊、切刀、牵拉器和控制器,所述标签放卷器上所安装的标签卷的自由端在经过导料辊的导向后粘贴在限制辊的外壁上,所述标签卷的自由端由牵拉器牵伸而从限制辊外被拉至瓶体夹持器的夹持区域中,所述切刀靠近限制辊设置并将标签卷切断而形成标签段,所述控制器分别与瓶体夹持器、标签放卷器、切刀和牵拉器电连接。本实用新型通过牵拉器将标签卷的自由端拉至瓶体夹持器处,使圆瓶在由输送带输送经过该处时自动粘上标签卷的自由端,同时配合切刀切断标签卷,瓶体夹持器驱动圆瓶原地转动,从而将标签段完全粘贴在圆瓶的外壁上,粘贴位置精准,贴标效率高。


