授权公布号:CN219043255U
一种可移动便携式组装搅拌器
有效
申请
2022-09-23
申请公布
1970-01-01
授权
2023-05-19
预估到期
2032-09-23
| 申请号 | CN202222536648.3 |
| 申请日 | 2022-09-23 |
| 授权公布号 | CN219043255U |
| 授权公告日 | 2023-05-19 |
| 分类号 | B01F27/90;B01F27/054;B01F35/31;B01F35/32 |
| 分类 | 一般的物理或化学的方法或装置; |
| 申请人名称 | 威海百合生物技术股份有限公司 |
| 申请人地址 | 山东省威海市荣成市天鹅湖经济技术开发区成大路552号 |
专利法律状态
2023-05-19
授权
状态信息
授权
摘要
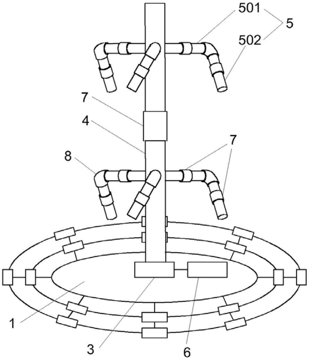
一种可移动便携式组装搅拌器,用于对容器内的液体进行搅拌,包括固定内盘和固定外盘,固定内盘设置在容器的内部,固定外盘设置在容器的外部,固定外盘通过容器与固定内盘吸附连接,固定内盘上设有电机,电机上设有搅拌杆,搅拌杆由若干个搅拌短杆通过组装枢纽Ⅰ串联而成,搅拌短杆上设有若干个搅拌桨,搅拌桨设有支撑杆和桨叶,支撑杆设置在搅拌短杆上,支撑杆由若干个支撑短杆通过组装枢纽Ⅰ串联而成,支撑杆的尾端通过组装枢纽Ⅱ连接桨叶,桨叶由若干个短桨叶通过组装枢纽Ⅰ串联而成,其解决了现有的搅拌器存在着因其结构的缺陷,从而导致搅拌效果较差、搅拌效率较低、难清理、不易携带的技术问题,可广泛应用于搅拌器技术领域。


