授权公布号:CN104906384B
一种活性铁皮石斛超微粉的制备方法
有效
申请
2015-05-12
申请公布
2015-09-16
授权
2018-07-31
预估到期
2035-05-12
| 申请号 | CN201510242263.8 |
| 申请日 | 2015-05-12 |
| 申请公布号 | CN104906384A |
| 申请公布日 | 2015-09-16 |
| 授权公布号 | CN104906384B |
| 授权公告日 | 2018-07-31 |
| 分类号 | A61K36/8984;A61K9/14 |
| 分类 | 医学或兽医学;卫生学; |
| 申请人名称 | 浙江尖峰健康科技有限公司 |
| 申请人地址 | 浙江省金华市婺城新城区临江工业园区西溪街96号 |
专利法律状态
2018-07-31
授权
状态信息
授权
2015-10-14
实质审查的生效
状态信息
实质审查的生效IPC(主分类):A61K 36/8984申请日:20150512
2015-09-16
公布
状态信息
公开
摘要
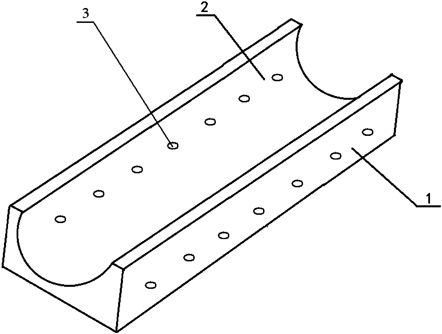
本发明公开了一种活性铁皮石斛超微粉的制备方法,步骤:1)将新鲜采收的铁皮石斛除去叶片,洗净、沥干;2)打孔,固定在模具上,放置到真空干燥仓的搁板上,降温;模具为上表面设置有半柱状凹槽(2)的立方体状的金属模具本体(1),在模具本体上设置有小孔(3);3)抽真空;4)搁板加热,升温至0℃,压强保持在20~100Pa,干燥;物料从0℃升至20℃,压强保持在10~20Pa,干燥,物料从20℃升至40℃,压强保持在10Pa以内,干燥;升至常压;5)低温气流粉碎,得到95%以上的粒径为20μm以下的活性铁皮石斛超微粉。本发明冻干速率高,节省了冻干时间,降低能耗,产品粒径小易于溶解、吸收,其生物利用度高。


