授权公布号:CN203392089U
内塞外盖组合一体奶粉罐
失效
申请
2013-02-07
申请公布
1970-01-01
授权
2014-01-15
预估到期
2023-02-07
| 申请号 | CN201320071162.5 |
| 申请日 | 2013-02-07 |
| 授权公布号 | CN203392089U |
| 授权公告日 | 2014-01-15 |
| 分类号 | B65D1/10;B65D43/08;B65D51/18;B65D53/00;B65D53/02;B65D51/30 |
| 分类 | 输送;包装;贮存;搬运薄的或细丝状材料; |
| 申请人名称 | 浙江康诺邦健康产品有限公司 |
| 申请人地址 | 浙江省杭州市滨江区滨康路568号 |
专利法律状态
2020-02-11
专利权的终止
状态信息
未缴年费专利权终止;IPC(主分类):B65D1/10;申请日:20130207;授权公告日:20140115;终止日期:20190207
2015-07-29
专利权人的姓名或者名称、地址的变更
状态信息
专利权人的姓名或者名称、地址的变更;IPC(主分类):B65D1/10;变更事项:专利权人;变更前:浙江康恩贝健康产品有限公司;变更后:浙江康诺邦健康产品有限公司;变更事项:地址;变更前:310052 浙江省杭州市滨江区滨康路568号;变更后:310052 浙江省杭州市滨江区滨康路568号
2014-01-15
授权
状态信息
授权
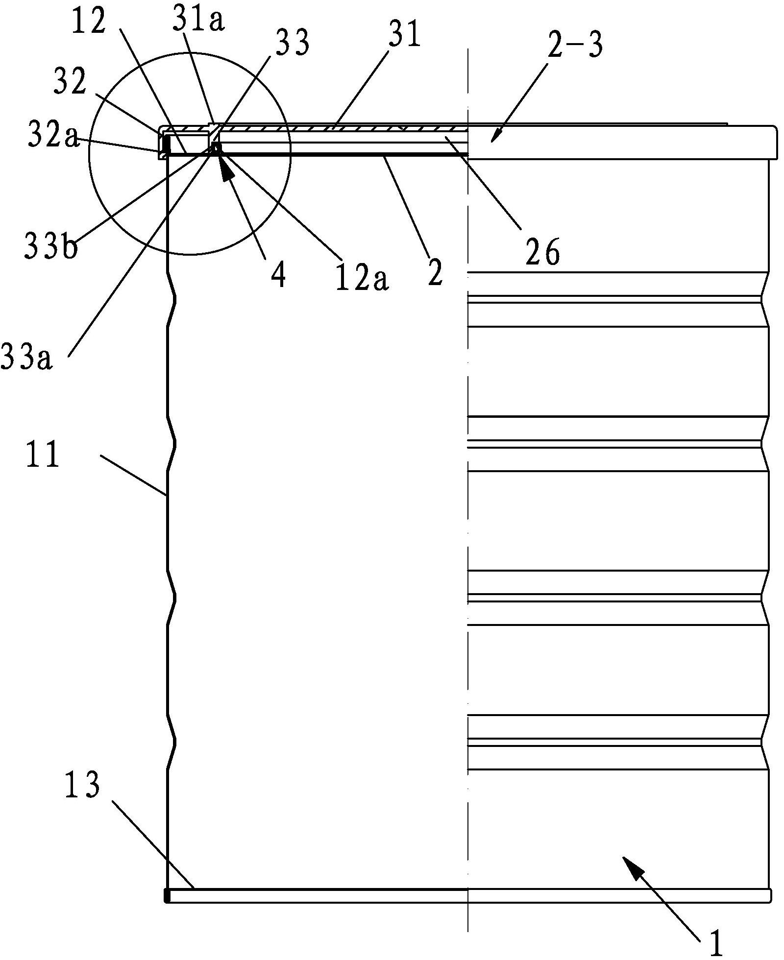
摘要
本实用新型涉及一种内塞外盖组合一体奶粉罐,由罐体、罐底、罐顶、内塞、外盖所组成,罐体中位于罐顶内壁侧还设有与罐体连接一体的密封膜,罐顶开口边缘有上凸的颈圈,内塞及外盖为组合一体件,其盖圈与罐筒体、内凸圈与罐顶颈圈外侧、内塞与罐顶颈圈内侧均形成密封,内塞与盖顶间的空腔还能放置干燥剂,因增设了密封膜,可保证完全密封和分辨销售过程消费者买到的是未开启的产品,增加了外盖与罐体间的密封面,既提高密封性也增加了盖的刚性和强度,更能有效防止奶粉运输等状态受外力或撞击时降低密封性而导致变质,尤其一体盖省去了频繁的二次开启和闭合,并能延长开启后的贮藏时间,一体盖的盖顶面上设置了与罐顶颈圈对应位置的凸环,引导用户盖合施力至准确位置,盖合快捷。


