授权公布号:CN207375377U
一种多头螺杆充填装置
有效
申请
2017-11-23
申请公布
1970-01-01
授权
2018-05-18
预估到期
2027-11-23
| 申请号 | CN201721585136.9 |
| 申请日 | 2017-11-23 |
| 授权公布号 | CN207375377U |
| 授权公告日 | 2018-05-18 |
| 分类号 | B65G65/46 |
| 分类 | 输送;包装;贮存;搬运薄的或细丝状材料; |
| 申请人名称 | 海南国健高科技乳业有限公司 |
| 申请人地址 | 海南省海口市龙昆南路46号钻石大厦D座一层至三层 |
专利法律状态
2018-05-18
授权
状态信息
授权
摘要
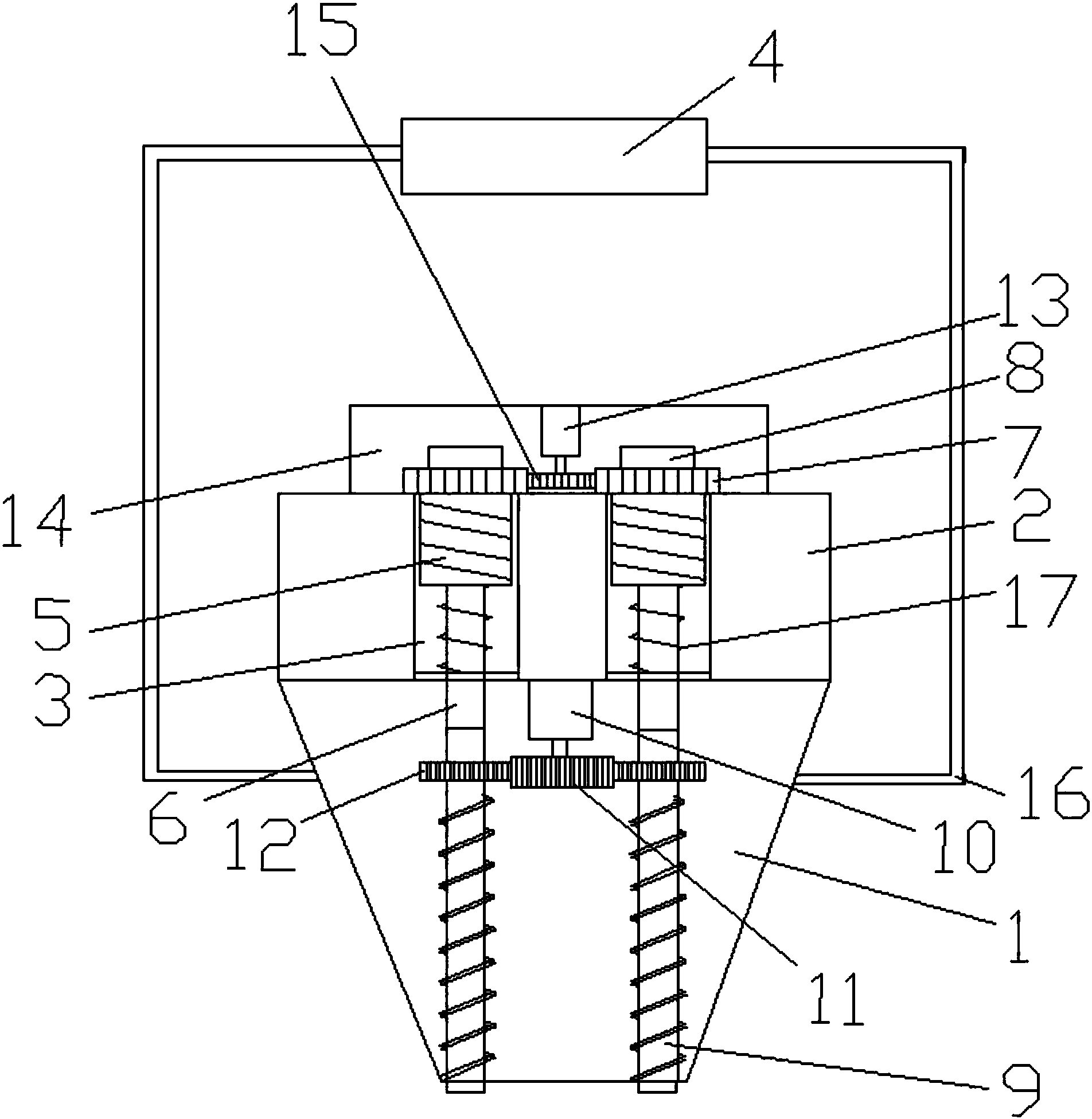
本实用新型公开了一种多头螺杆充填装置,包括壳体和出料装置,壳体顶部设有盖板,盖板内设有若干孔形槽,孔形槽内设有第一柱体,第一柱体与孔形槽螺纹连接,第一柱体底部设有第二柱体,第二柱体可穿过孔形槽的底部,出料装置设于壳体内,第二柱体底部与出料装置顶部相连,第一柱体的顶部设有第一齿轮,第一齿轮顶部设有第一磁铁,第一磁铁的上方设有用于拆卸第一柱体的拆卸装置,第一齿轮、第一磁铁均可穿过拆卸装置,拆卸装置上方设有用于吸附第一磁铁的磁吸装置,通过本装置可以方便地拆卸出料装置,并且拆卸效果较好,拆卸效率较高,极大的方便了用户的使用。


