授权公布号:CN213535577U
一种防潮奶粉包装盒
有效
申请
2020-09-28
申请公布
1970-01-01
授权
2021-06-25
预估到期
2030-09-28
| 申请号 | CN202022165024.6 |
| 申请日 | 2020-09-28 |
| 授权公布号 | CN213535577U |
| 授权公告日 | 2021-06-25 |
| 分类号 | B65D25/02;B65D25/52;B65D55/00 |
| 分类 | 输送;包装;贮存;搬运薄的或细丝状材料; |
| 申请人名称 | 海南国健高科技乳业有限公司 |
| 申请人地址 | 海南省海口市龙昆南路42号钻石大厦D座一层至三层 |
专利法律状态
2021-06-25
授权
状态信息
授权
摘要
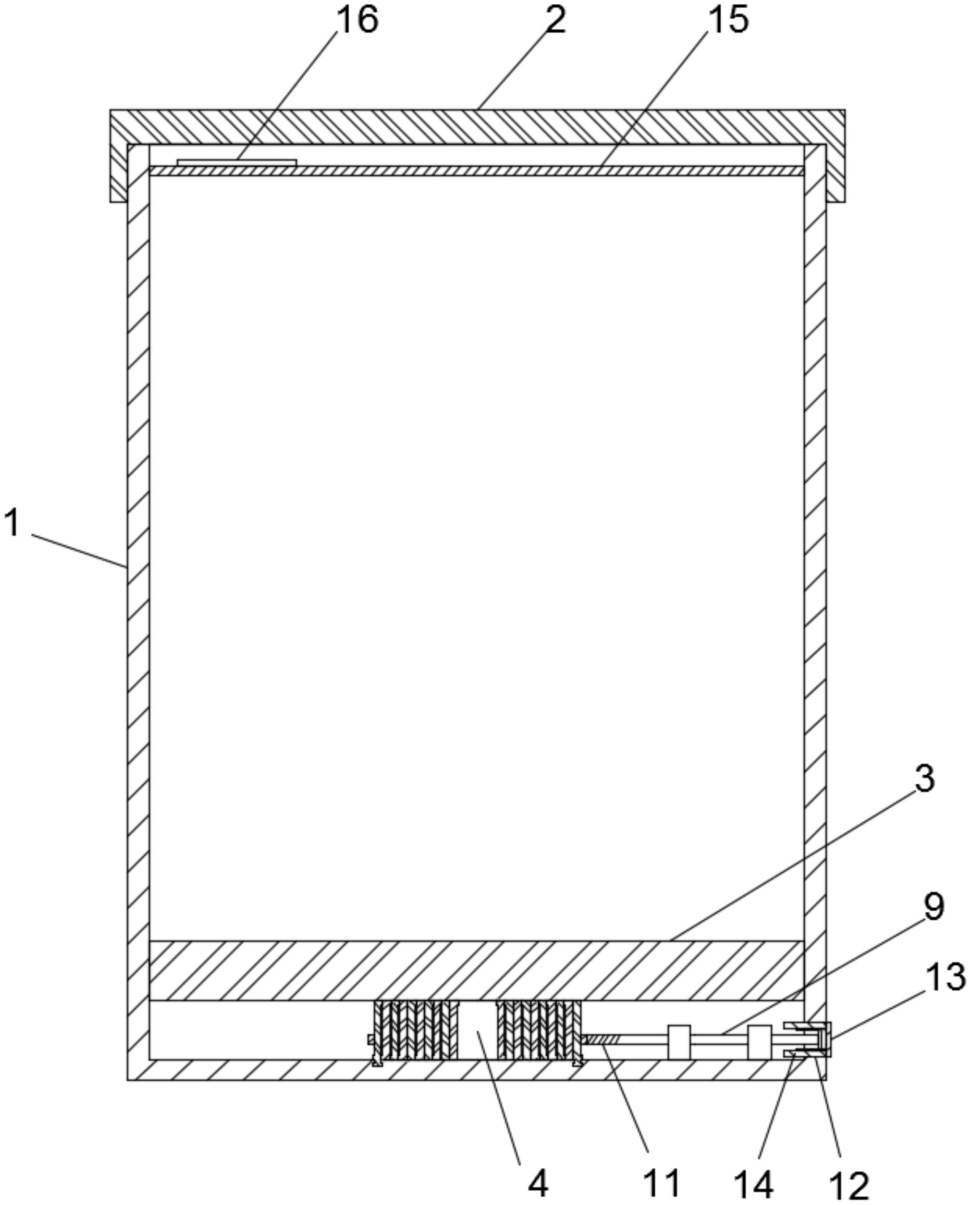
本实用新型公开了一种防潮奶粉包装盒,包括盒体,所述盒体底部密封且上方设有开口,所述开口设有第一盖子,所述盒体内设有活塞,所述活塞底部设有第一伸缩杆,所述第一伸缩杆顶部与活塞固定连接,底部与所述盒体转动连接,所述第一伸缩杆包括若干个相互套接的套管,所述套管底部设有第一限位块,顶部内壁设有螺母,所述套管外壁设有外螺纹,所述套管的外螺纹与另一套管的螺母螺纹连接,所述盒体内设有转轴,所述转轴通过蜗轮蜗杆驱动位于最外侧的所述套管转动,所述盒体侧壁设有与所述转轴对齐的通孔,所述通孔设有第二盖子。本实用新型在于提供一种防潮奶粉包装盒,减少奶粉盒体内的空气含量,提高奶粉的防潮性能。


