授权公布号:CN216513890U
一种硫酸软骨素加工生产用的催化酶解罐
有效
申请
2021-08-16
申请公布
1970-01-01
授权
2022-05-13
预估到期
2031-08-16
| 申请号 | CN202121910985.3 |
| 申请日 | 2021-08-16 |
| 授权公布号 | CN216513890U |
| 授权公告日 | 2022-05-13 |
| 分类号 | C12M1/40;C12M1/02;C12M1/00 |
| 分类 | 生物化学;啤酒;烈性酒;果汁酒;醋;微生物学;酶学;突变或遗传工程; |
| 申请人名称 | 美泰科技(青岛)股份有限公司 |
| 申请人地址 | 山东省青岛市黄岛区大珠山南路1888号 |
专利法律状态
2022-05-13
授权
状态信息
授权
摘要
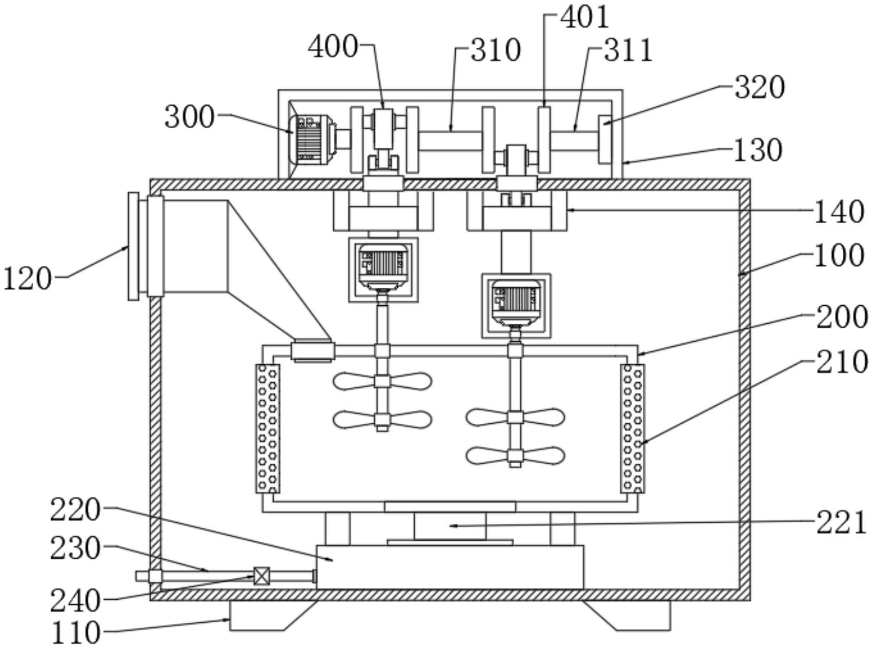
本实用新型涉及酶解罐技术领域,提供了一种硫酸软骨素加工生产用的催化酶解罐,包括外保温罐、内酶解罐、第一电机和第一搅拌组件,所述外保温罐的内腔分别设置有内酶解罐和集液罐,且所述内酶解罐的内腔侧壁安装有加热面板,所述外保温罐的侧壁开口处安装有进料框,该种硫酸软骨素加工生产用的催化酶解罐由于外保温罐与内酶解罐的设计,使得内酶解罐内的保温效果良好,并配合加热装置等组件可满足反应中各阶段所需温度,并通过该种硫酸软骨素加工生产用的催化酶解罐的第一搅拌组件与第二搅拌组件等设计,使得搅拌叶可在搅拌过程中进行高度上的位移,以实现内酶解罐内部物料的搅拌更加均匀、酶解反应更加完全。


