授权公布号:CN208055241U
一种动物结缔组织高效脱脂设备
有效
申请
2018-01-23
申请公布
1970-01-01
授权
2018-11-06
预估到期
2028-01-23
| 申请号 | CN201820111373.X |
| 申请日 | 2018-01-23 |
| 授权公布号 | CN208055241U |
| 授权公告日 | 2018-11-06 |
| 分类号 | C08B37/00;C07K1/14 |
| 分类 | 有机高分子化合物;其制备或化学加工;以其为基料的组合物; |
| 申请人名称 | 美泰科技(青岛)股份有限公司 |
| 申请人地址 | 山东省青岛市黄岛区大珠山南路1888号 |
专利法律状态
2018-11-06
授权
状态信息
授权
摘要
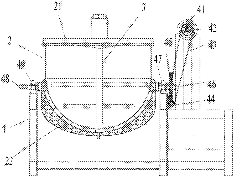
本实用新型涉及脱脂设备领域,具体涉及一种动物结缔组织高效脱脂设备,包括底座、反应釜和搅拌器,搅拌器安装在反应釜上部的盖体上,还包括翻转装置,翻转装置包括摇把,与摇把固定连接的上齿轮,与上齿轮以链条连接的下齿轮,与下齿轮连接的蜗杆蜗轮,与蜗杆蜗轮连接的连接杆,连接杆的另一端通过底座上的轴承和轴承座套件一与反应釜固定连接,反应釜上与连接杆相对的一端固定有转动轴,转动轴以轴承和轴承座套件二固定在底座上。本实用新型结构简单,可以对动物结缔组织表面夹带大量动物油脂进行脱脂处理,能有效防止下步工序多糖、蛋白提取时的油脂污染堵塞设备,油脂渗透到产品中,污染产品造成指标超出标准等问题,具有潜在的市场价值。


