授权公布号:CN110295653B
一种管状容油物油脂刮取装置
有效
申请
2019-07-04
申请公布
2019-10-01
授权
2020-12-25
预估到期
2039-07-04
| 申请号 | CN201910600461.5 |
| 申请日 | 2019-07-04 |
| 申请公布号 | CN110295653A |
| 申请公布日 | 2019-10-01 |
| 授权公布号 | CN110295653B |
| 授权公告日 | 2020-12-25 |
| 分类号 | E03C1/30;E03C1/302 |
| 分类 | 给水;排水; |
| 申请人名称 | 美泰科技(青岛)股份有限公司 |
| 申请人地址 | 山东省青岛市黄岛区大珠山南路1888号 |
专利法律状态
2020-12-25
授权
状态信息
授权
2020-12-22
专利申请权、专利权的转移
状态信息
专利申请权的转移;IPC(主分类):E03C1/30;专利申请号:2019106004615;登记生效日:20201210;变更事项:申请人;变更前权利人:曹守合;变更后权利人:美泰科技(青岛)股份有限公司;变更事项:地址;变更前权利人:266000 山东省青岛市四方区人民路365号609户;变更后权利人:266000 山东省青岛市黄岛区大珠山南路1888号
2019-11-01
实质审查的生效
状态信息
实质审查的生效;IPC(主分类):E03C1/30;专利申请号:2019106004615;申请日:20190704
2019-10-01
发明专利申请公布
状态信息
公布
摘要
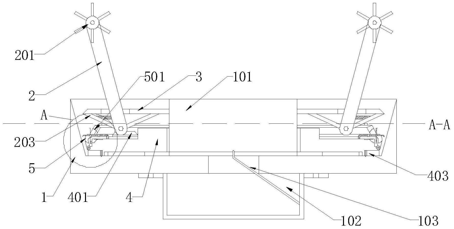
本发明提供一种管状容油物油脂刮取装置,包括刮取部件、驱动部件和传料部件,刮取部件的一侧设置有驱动部件,刮取部件的内部设置有传料部件,刮取部件包括刮油盘,固定轴,接油斗和刮油杆,刮油盘的内部设置有固定轴,刮油盘的一侧设置有接油斗,刮油盘的内壁固定设置有刮油杆,驱动部件包括延伸杆,推轮,链条,连接杆和顶面挡板,固定轴的外周设置有延伸杆,延伸杆的一端设置有推轮,推轮的一侧设置有链条,推轮的一端设置有连接杆,在推动板复位时压油板将油脂导向,使油脂向稳定方向移动,之后随着推动板移动,拓宽推动板与刮油盘之间的空间为下一批油脂拓开空间,避免油脂进入不匀或卡在压油板上而导致油脂推积,加快油脂进入速度。


