授权公布号:CN216224173U
一种便于清理的植物脂肪粉生产加工用的搅拌装置
有效
申请
2021-09-07
申请公布
1970-01-01
授权
2022-04-08
预估到期
2031-09-07
| 申请号 | CN202122154459.5 |
| 申请日 | 2021-09-07 |
| 授权公布号 | CN216224173U |
| 授权公告日 | 2022-04-08 |
| 分类号 | B01F35/32;B01F27/906;B01F27/92;B01F27/96;B01F27/192;F16F15/04 |
| 分类 | 一般的物理或化学的方法或装置; |
| 申请人名称 | 美泰科技(青岛)股份有限公司 |
| 申请人地址 | 山东省青岛市黄岛区大珠山南路1888号 |
专利法律状态
2022-04-08
授权
状态信息
授权
摘要
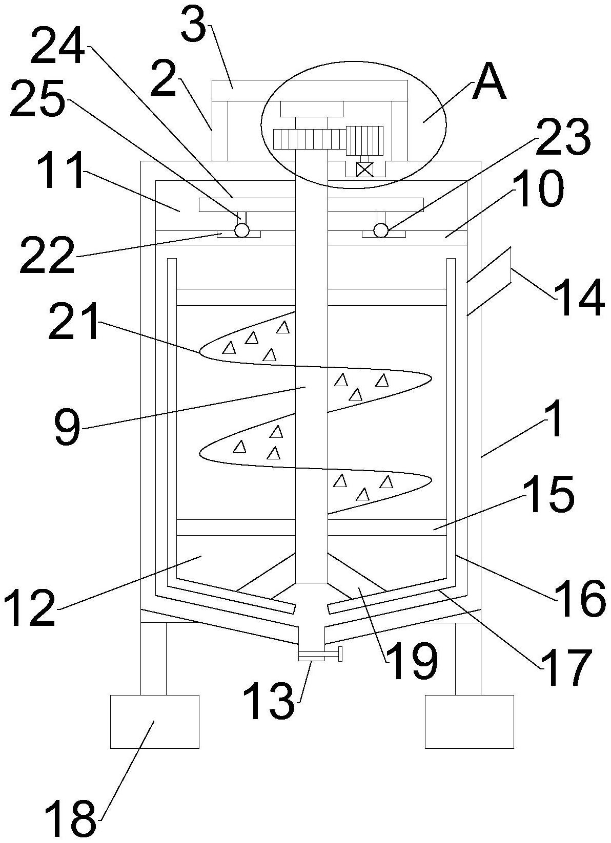
本实用新型涉及植物脂肪粉生产技术领域,具体提供了一种便于清理的植物脂肪粉生产加工用的搅拌装置,包括搅拌罐,所述搅拌罐外顶壁设有安装柱,两个安装柱顶端共同与安装板连接,所述搅拌罐外顶壁设有安装槽,安装槽内设有驱动电机,驱动电机输出轴连接有主动齿轮,主动齿轮啮合有从动齿轮。本实用新型的搅拌动轴转动,进而螺旋扰料叶片转动;螺旋扰料叶片转动,对物料进行扰动,通过扰料凸起的配合,可进一步的提高物料的扰动效果;从而提高植物脂肪粉生产加工效率;通过侧刮板、斜底刮板分别与搅拌腔的内侧壁和内底壁贴合,从而可对搅拌腔进行刮理,从而起到自洁的效果,从而便于对搅拌腔进行清理,提高植物脂肪粉生产加工效率。


