授权公布号:CN208576961U
一种辅食营养包物料移动转运罐下料对接的定位装置
有效
申请
2018-06-08
申请公布
1970-01-01
授权
2019-03-05
预估到期
2028-06-08
| 申请号 | CN201820881565.9 |
| 申请日 | 2018-06-08 |
| 授权公布号 | CN208576961U |
| 授权公告日 | 2019-03-05 |
| 分类号 | B65D88/28 |
| 分类 | 输送;包装;贮存;搬运薄的或细丝状材料; |
| 申请人名称 | 福格森(武汉)生物科技股份有限公司 |
| 申请人地址 | 湖北省武汉市武汉经济技术开发区枫树三路9号 |
专利法律状态
2019-03-05
授权
状态信息
授权
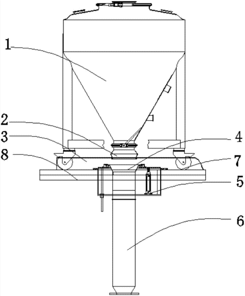
摘要
本实用新型公开了一种辅食营养包物料移动转运罐下料对接的定位装置,包括移动转运罐、出料口、定位机构、螺栓、底板、限位板、下料对接口、气动对接口、下料管、车轮和固定板。本实用新型的结构简单,定位机构对称的分布在出料口两侧,可以实现移动转运罐的车轮进入固定的轨道,特殊形状底板的开口处的间距比终端的间距大,方便移动转运罐的车轮进入限位板,限位板的边缘光滑,为了降低移动转运罐车轮的损伤,整体装置的设置,可以实现出料口和下料对接口的精准对接,可以有效的避免下料过程中物料泄露,同时降低了操作人员的操作难度。


