授权公布号:CN107980910B
一种豆粉提取装置
有效
申请
2017-11-24
申请公布
2018-05-04
授权
2021-07-23
预估到期
2037-11-24
| 申请号 | CN201711195581.9 |
| 申请日 | 2017-11-24 |
| 申请公布号 | CN107980910A |
| 申请公布日 | 2018-05-04 |
| 授权公布号 | CN107980910B |
| 授权公告日 | 2021-07-23 |
| 分类号 | B02C18/14;B02C18/24;A23C11/00;A23L11/00 |
| 分类 | 破碎、磨粉或粉碎;谷物碾磨的预处理; |
| 申请人名称 | 福格森(武汉)生物科技股份有限公司 |
| 申请人地址 | 湖北省武汉市蔡甸区经济技术开发区枫树三路9号 |
专利法律状态
2021-07-23
授权
状态信息
授权
2021-07-02
专利申请权、专利权的转移
状态信息
专利申请权的转移;IPC(主分类):B02C 18/14;专利申请号:2017111955819;登记生效日:20210618;变更事项:申请人;变更前权利人:陕西科技大学;变更后权利人:福格森(武汉)生物科技股份有限公司;变更事项:地址;变更前权利人:710021 陕西省西安市未央区大学园1号;变更后权利人:430100 湖北省武汉市蔡甸区经济技术开发区枫树三路9号
2018-06-01
实质审查的生效
状态信息
实质审查的生效;IPC(主分类):A23C 11/10;专利申请号:2017111955819;申请日:20171124
2018-05-04
发明专利申请公布
状态信息
公布
摘要
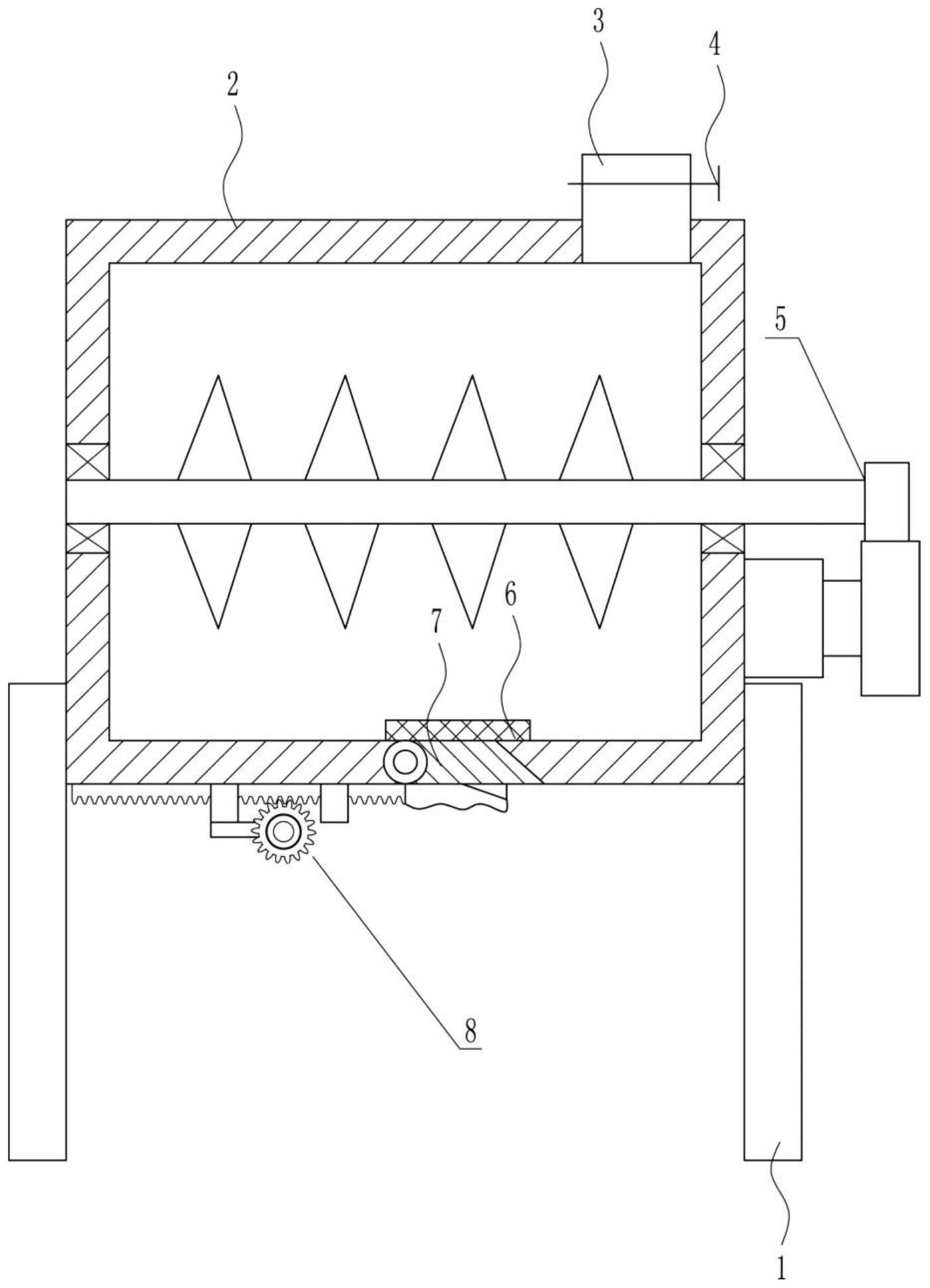
本发明公开了一种豆粉提取装置,属于食品加工技术领域。包括箱体、破碎装置和移动装置,箱体底部设有支腿,顶部设有加料管,破碎装置的破碎部位于箱体内部;在箱体内底壁上嵌设有盖子,盖子的一端与箱体底壁活动连接,在盖子上方的箱体内底壁上还设有过滤网;移动装置位于箱体外底壁一侧,且与盖子的一端相连,移动装置通过水平移动带动盖子开启或闭合。本发明的提取装置,结构设计合理,操作简单,能对水和豆粉中的杂物进行清除,保证豆粉质量。


