授权公布号:CN215913616U
一种清洁毛刷
有效
申请
2021-03-05
申请公布
1970-01-01
授权
2022-03-01
预估到期
2031-03-05
| 申请号 | CN202120478575.X |
| 申请日 | 2021-03-05 |
| 授权公布号 | CN215913616U |
| 授权公告日 | 2022-03-01 |
| 分类号 | A46B5/00;A46B7/04 |
| 分类 | 刷类制品; |
| 申请人名称 | 中科健康产业集团股份有限公司 |
| 申请人地址 | 江苏省南京市北京东路22号和平大厦20层 |
专利法律状态
2022-03-01
授权
状态信息
授权
摘要
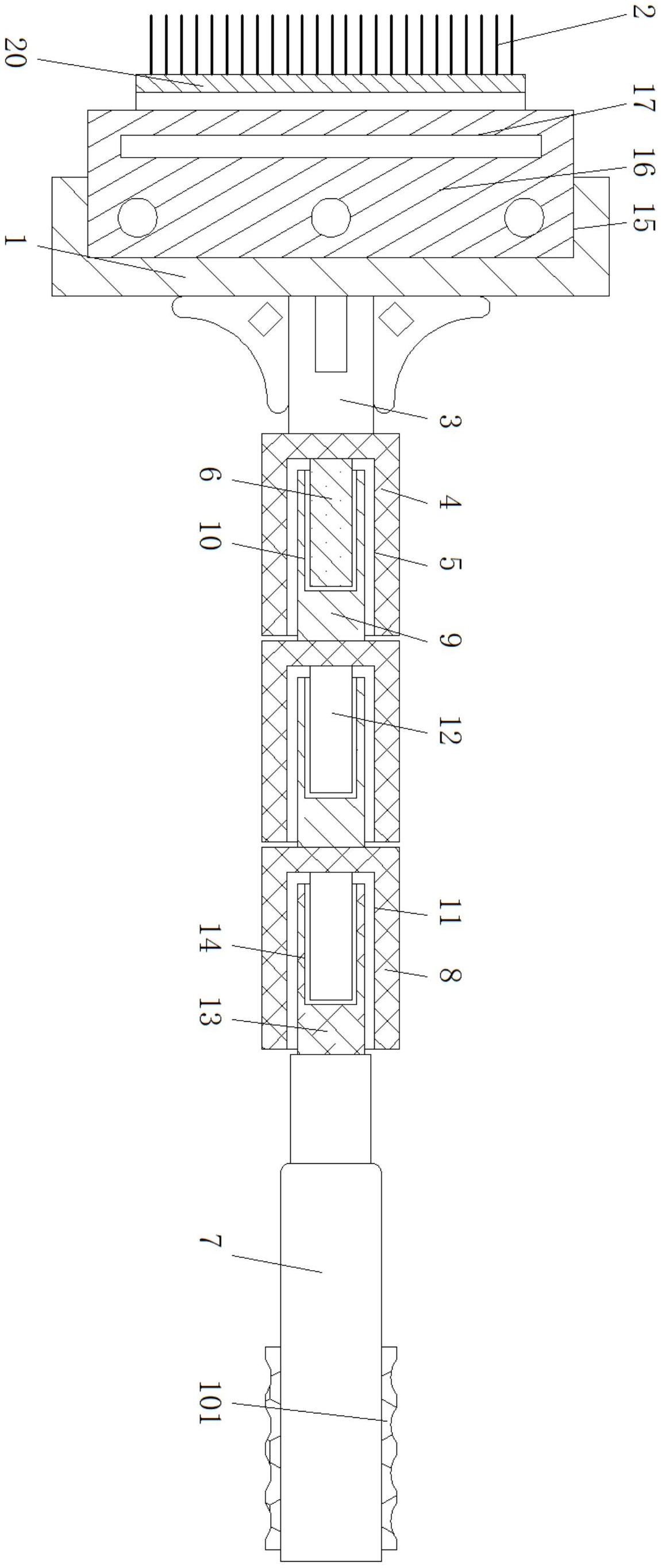
本实用新型提出一种清洁毛刷,包括装配板,所述装配板的一侧安装有毛刷层,且装配板另一侧安装有加强固定杆,所述加强固定杆远离装配板的一端安装有第一连接筒,所述第一连接筒内设有第一内螺纹槽,且第一内螺纹槽内设有第一外螺纹柱,所述第一外螺纹柱的一端与第一连接筒连接,且第一外螺纹柱上转动安装有连接组件,所述连接组件设有多组,且多组连接组件之间通过螺纹转动连接,该种清洁毛刷通过在手柄与装配板之间增设有多组连接组件,且多组连接组件之间通过螺纹连接,即可通过增加或减少连接组件的数量达到调整毛刷长度的效果,利于工作人员根据需求进行调整,从而利于使用,使清洁更方便。


