授权公布号:CN206298373U
一种蒸馏水器
有效
申请
2016-11-12
申请公布
1970-01-01
授权
2017-07-04
预估到期
2026-11-12
| 申请号 | CN201621219553.7 |
| 申请日 | 2016-11-12 |
| 授权公布号 | CN206298373U |
| 授权公告日 | 2017-07-04 |
| 分类号 | C02F1/04 |
| 分类 | 水、废水、污水或污泥的处理; |
| 申请人名称 | 上海娇云日化有限公司 |
| 申请人地址 | 上海市奉贤区科工路1058号 |
专利法律状态
2017-07-04
授权
状态信息
授权
摘要
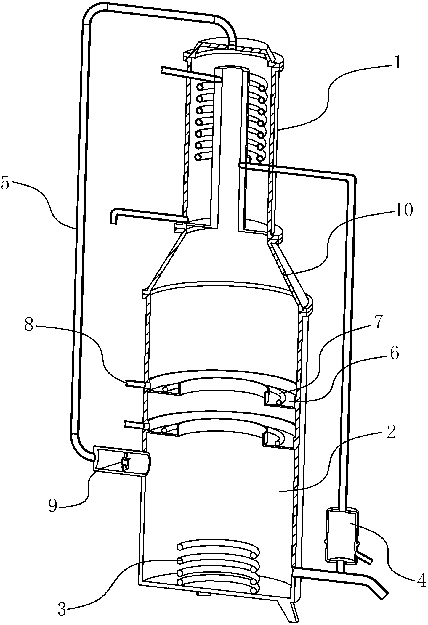
本实用新型公开了一种蒸馏水器,包括冷凝器、蒸发锅、加热装置和加水溢水孔,冷凝器与蒸发锅外设有相互连通的通风管,通风管与蒸馏水器内部构成气流循环回路,气流循环回路上设有吹风装置,蒸发锅内设有用于增大水蒸发面积的分层加热装置。本实用新型的优点在于:通风管连通冷凝器和蒸发锅,使蒸馏水器中构成气流循环回路,并由吹风装置加速气流的流速,加快了水蒸汽流入冷凝器中,提高了蒸馏水器的蒸馏效率。分层加热装置增加了水的蒸发面积,进而加快了水的蒸发速率,使蒸馏水器在单位之间内产生更多的水蒸汽,经过冷凝器液化,获得更多的蒸馏水。


