授权公布号:CN206295628U
一种超声波提取罐
有效
申请
2016-11-12
申请公布
1970-01-01
授权
2017-07-04
预估到期
2026-11-12
| 申请号 | CN201621224264.6 |
| 申请日 | 2016-11-12 |
| 授权公布号 | CN206295628U |
| 授权公告日 | 2017-07-04 |
| 分类号 | B01D11/02;B01J19/10 |
| 分类 | 一般的物理或化学的方法或装置; |
| 申请人名称 | 上海娇云日化有限公司 |
| 申请人地址 | 上海市奉贤区科工路1058号 |
专利法律状态
2017-07-04
授权
状态信息
授权
摘要
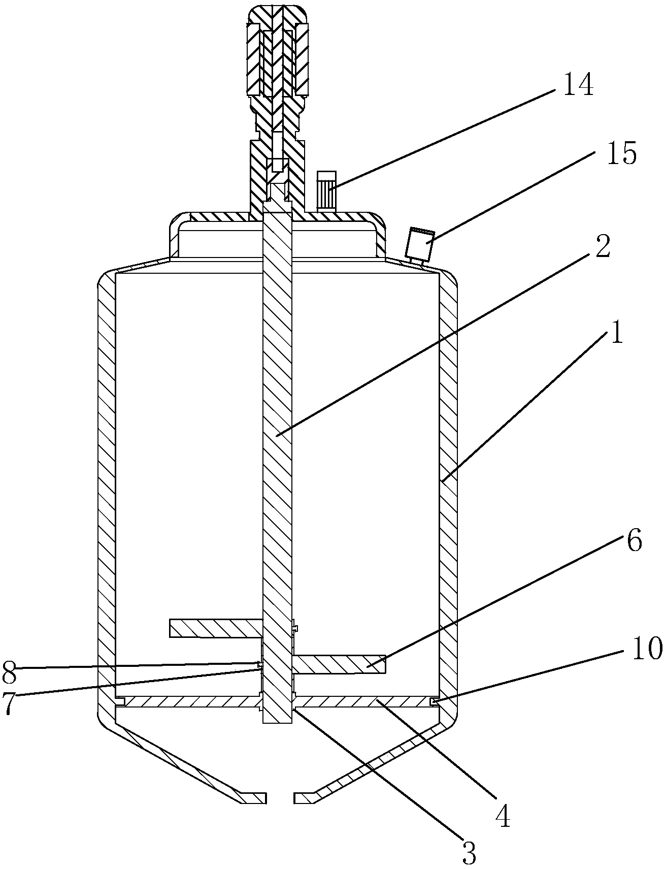
本实用新型公开了一种超声波提取罐,包括罐体以及与罐体上端连接的搅拌轴,所述罐体下端设置有支撑座,所述支撑座周侧均匀分布由支撑在所述罐体内壁的支撑杆,所述支撑座中部设置有限位孔,所述搅拌轴穿设在所述限位孔中。本方案采用新的机械结构。本实用新型具有以下优点和效果:在支撑杆的作用下对支撑座进行支撑,保持支撑座的位置固定,支撑座不会沿罐体的径向发生偏移,搅拌轴穿设在支撑座中部的限位孔中,通过支撑座对搅拌轴进行径向的限定,从而提升了搅拌轴转动的稳定性,提升了对物料的搅拌效果,便于物料的提取。


