授权公布号:CN207912918U
一种渣汁分离的水果面膜机
有效
申请
2017-06-09
申请公布
1970-01-01
授权
2018-09-28
预估到期
2027-06-09
| 申请号 | CN201720667931.6 |
| 申请日 | 2017-06-09 |
| 授权公布号 | CN207912918U |
| 授权公告日 | 2018-09-28 |
| 分类号 | A61K8/02;A61Q19/00;B02C18/12;B02C23/16 |
| 分类 | 医学或兽医学;卫生学; |
| 申请人名称 | 上海海狮龙生化技术有限公司 |
| 申请人地址 | 上海市青浦区华新镇华志路555号A区18幢105室东起第2间 |
专利法律状态
2019-08-09
专利申请权、专利权的转移
状态信息
专利权的转移;IPC(主分类):A61K8/02;专利号:ZL2017206679316;登记生效日:20190719;变更事项:专利权人;变更前权利人:合肥易亓晟科技有限公司;变更后权利人:上海海狮龙生化技术有限公司;变更事项:地址;变更前权利人:231600 安徽省合肥市肥东县肥东经济开发区临泉东路北;变更后权利人:201708 上海市青浦区华新镇华志路555号A区18幢105室东起第2间
2018-09-28
实用新型专利权授予
状态信息
授权
摘要
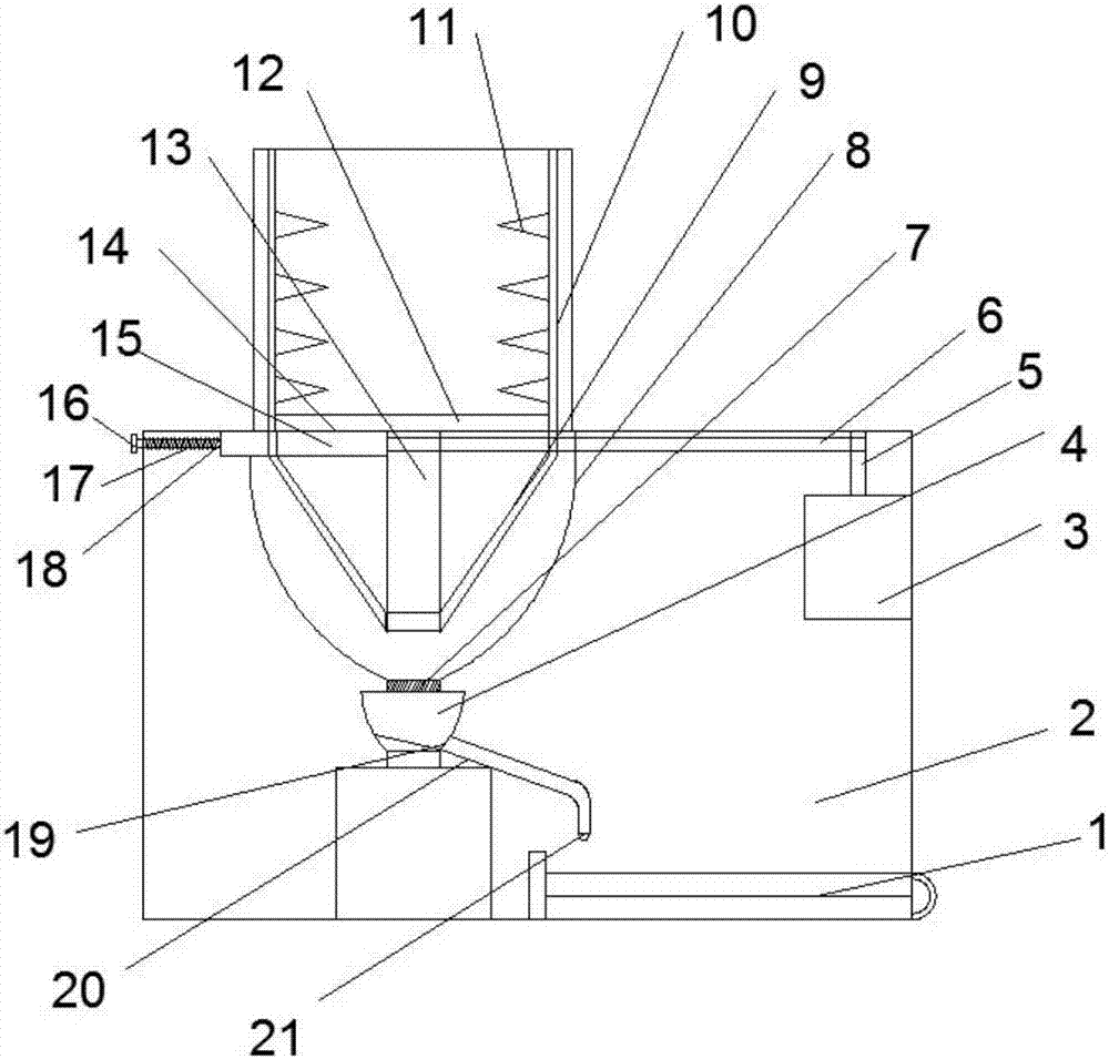
本实用新型的目的是一种渣汁分离的水果面膜机,包括面膜机的机壳,所述的机壳的上端设有榨汁桶,所述的榨汁桶的底部为旋转盘,旋转盘与机壳顶部的榨汁入口连接,所述的旋转盘的下方设有能够渣汁分离的旋转分离装置,所述的旋转分离装置包括旋转分离斗和过滤斗,旋转分离斗通过旋转轴与旋转盘的底部连接,旋转轴通过旋转带与机壳内驱动电机的转轴连接,过滤斗设在旋转分离斗正下方,过滤斗的过滤口下方设有集液斗,集液斗出汁口处的出汁管设在机壳底部的面膜成型盘上方,能够通过双级筛选分离进行逐级筛选,以提高筛选精度,以达到渣汁完全分离,提高面膜的精细程度,提高面膜质感和质量。


