授权公布号:CN211002038U
一种面膜装袋灌浆一体机
有效
申请
2019-09-11
申请公布
1970-01-01
授权
2020-07-14
预估到期
2029-09-11
| 申请号 | CN201921506692.1 |
| 申请日 | 2019-09-11 |
| 授权公布号 | CN211002038U |
| 授权公告日 | 2020-07-14 |
| 分类号 | B65B25/14 |
| 分类 | 输送;包装;贮存;搬运薄的或细丝状材料; |
| 申请人名称 | 上海海狮龙生化技术有限公司 |
| 申请人地址 | 上海市青浦区华新镇华志路555号A区18幢105室东起第2间 |
专利法律状态
2020-07-14
授权
状态信息
授权
摘要
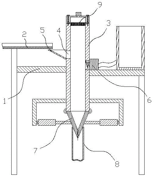
本实用新型涉及一种面膜装袋灌浆一体机,包括机架和输送装置,所述的机架上还设置有竖直走向的装袋筒,所述的装袋筒的侧面开设有进料口,且进料口通过进料导槽与输送装置配合,所述的装袋筒的侧壁还连通有喷浆装置,且装袋筒的底部设置有开合装置,所述的输送装置、喷浆装置和开合装置连接到控制器;本实用新型的目的是提供一种面膜装袋灌浆一体机,采用装袋筒与包装袋配合实现装袋,同时使装袋筒连通喷浆装置,实现装袋喷浆一体化实现,极大的提高了加工效率。


