授权公布号:CN203028424U
一种带泵头的化妆品瓶
失效
申请
2013-01-21
申请公布
1970-01-01
授权
2013-07-03
预估到期
2023-01-21
| 申请号 | CN201320034922.5 |
| 申请日 | 2013-01-21 |
| 授权公布号 | CN203028424U |
| 授权公告日 | 2013-07-03 |
| 分类号 | A45D34/00;B65D51/18 |
| 分类 | 手携物品或旅行品; |
| 申请人名称 | 浙江欧诗漫集团有限公司 |
| 申请人地址 | 浙江省湖州市德清县武康镇中兴北路518号 |
专利法律状态
2013-07-03
授权
状态信息
授权
摘要
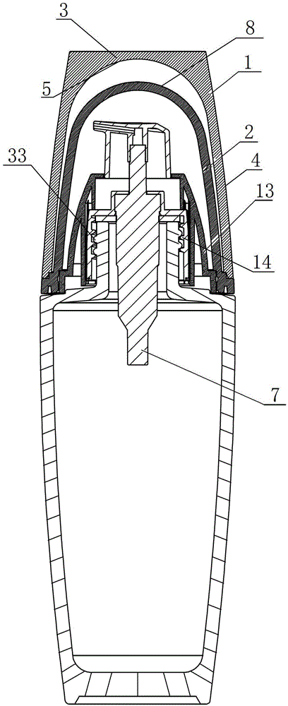
本实用新型涉及一种带泵头的化妆品瓶。该化妆品瓶由瓶盖,泵头和瓶体构成,泵头通过外围的中套与瓶体和瓶盖固定连接,所述的瓶盖由内盖和外壳体构成,内盖与外壳体固定连接,内盖的内圈下部设有与凸块相配合的一圈凹槽,所述的外壳体由顶部和侧壁构成,顶部为凹透镜;所述的内盖的上表面向上凸起形成有弧形凸起,所述的弧形凸起的外表面为一个第一球冠面或一个第一球冠面与一个以上相衔接的球台侧面构成,所述的第一球冠面的高度小于等于第一球冠面的半径,并在弧形凸起的外表面呈现珍珠色彩;弧形凸起设置在外壳体的内腔内使所述的弧形凸起在顶部的显示出珍珠的立体形状。


