授权公布号:CN212050485U
一种化妆品生产用灌装设备
有效
申请
2019-12-30
申请公布
1970-01-01
授权
2020-12-01
预估到期
2029-12-30
| 申请号 | CN201922455519.X |
| 申请日 | 2019-12-30 |
| 授权公布号 | CN212050485U |
| 授权公告日 | 2020-12-01 |
| 分类号 | B67C3/26;B67C3/28 |
| 分类 | 开启或封闭瓶子、罐或类似的容器;液体的贮运; |
| 申请人名称 | 广州市巧美化妆品有限公司 |
| 申请人地址 | 广东省广州市白云区江高镇私企区新贝路8-1号 |
专利法律状态
2020-12-01
授权
状态信息
授权
摘要
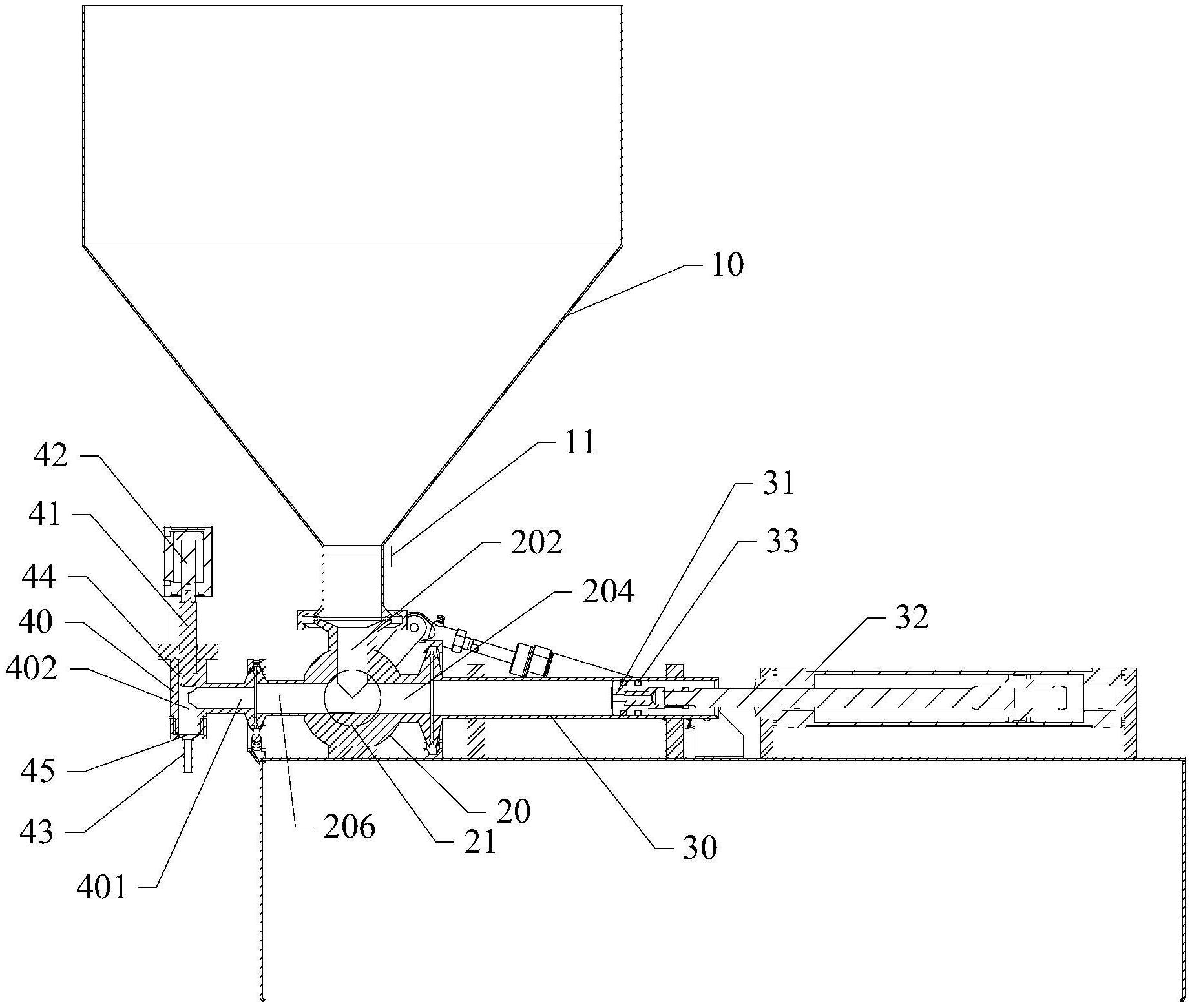
本实用新型公开了一种化妆品生产用灌装设备,包括下料斗、分流体、切换体、切换驱动机构、推料筒、推料件、推料驱动机构及灌装主体,下料斗设有电磁阀,分流体设有第一流道、第二流道和第三流道,切换体可转动地设置在三个流道的交汇处,切换体设有三个通孔,通孔与流道配合设置,切换驱动机构用于驱动切换体转动以将第一流道、第二流道和第三流道连通或将第一流道和第三流道连通,第一流道与下料斗连接,推料筒与第二流道连通,灌装主体设有第一灌装流道和第二灌装流道,第一灌装流道与第三流道连接,第二灌装流道用于与灌装接头连接,第二灌装流道内设有压杆,第二灌装流道的输出端设有挡板,挡板安装有称重传感器。可实现自动化、定量灌装。


