授权公布号:CN212663696U
一种化妆品原料研磨设备
有效
申请
2020-07-01
申请公布
1970-01-01
授权
2021-03-09
预估到期
2030-07-01
| 申请号 | CN202021264032.X |
| 申请日 | 2020-07-01 |
| 授权公布号 | CN212663696U |
| 授权公告日 | 2021-03-09 |
| 分类号 | B02C21/00;B02C23/16;B02C7/08;B02C4/08;B02C4/30;B02C7/11;B02C7/12;B02C4/42 |
| 分类 | 破碎、磨粉或粉碎;谷物碾磨的预处理; |
| 申请人名称 | 广东雅威生物科技有限公司 |
| 申请人地址 | 广东省汕头市澄海区莱美工业区秀水路东南侧 |
专利法律状态
2021-03-09
授权
状态信息
授权
摘要
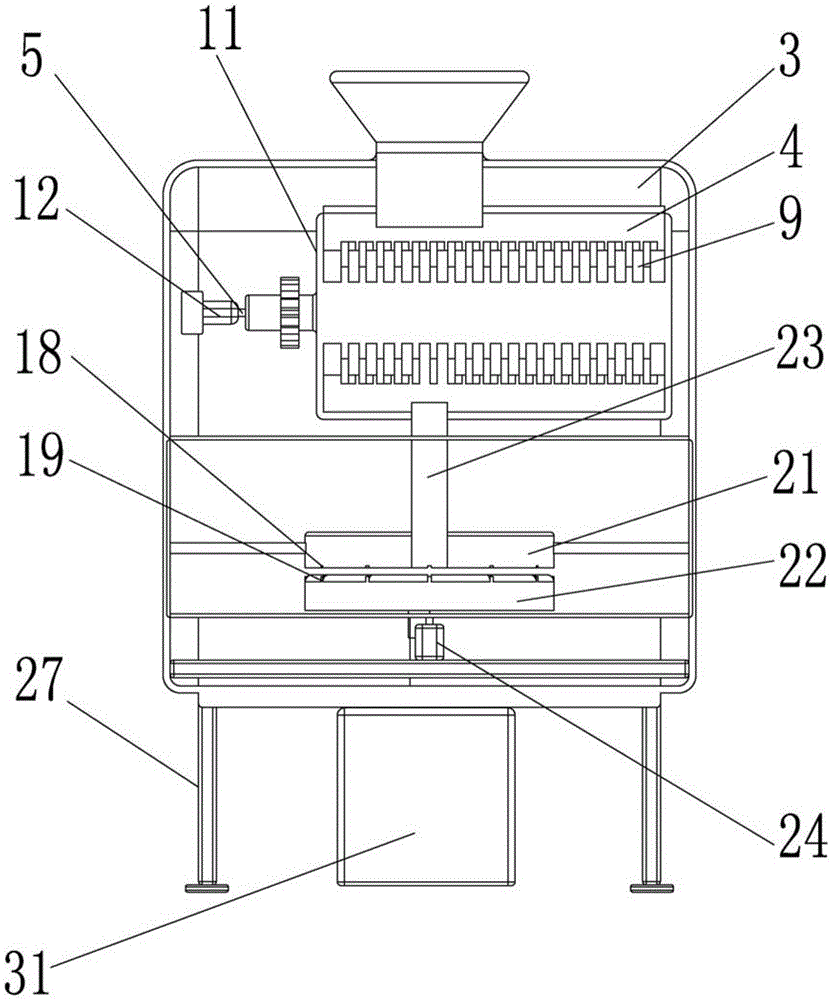
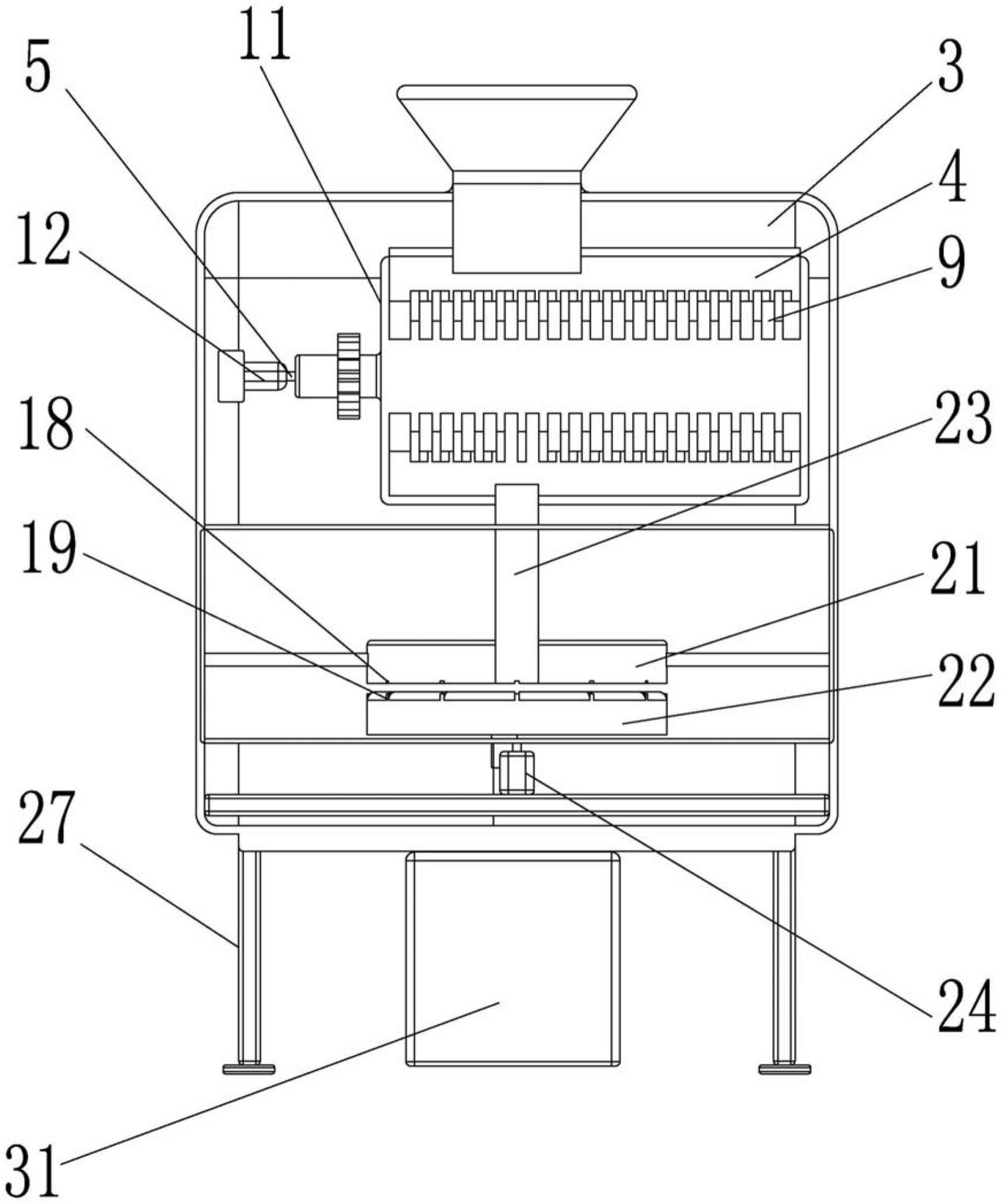
本实用新型公开了一种化妆品原料研磨设备,所述加工箱起保护作用,所述进料斗放置原料,所述第一电机带动所述第一压辊柱转动,所述主动轮共同转动,通过所述皮带带动所述从动轮转动,带动所述第二压辊柱转动,结合所述切割条,对原料进行碾压研磨,研磨后的原料通过所述进料管道进入所述固定磨盘与所述转动磨盘之间,所述第二电机带动所述转动磨盘转动,进行碾压研磨,研磨后的原料通过所述出料管道进入所述过滤箱组件,所述过滤网过滤出不合格的原料,将不合格的原料重新放入所述进料斗中,进行第二轮碾压研磨,促使所述化妆品原料研磨设备解决研磨不充分,研磨效率不高的问题。


