授权公布号:CN218790471U
一种卷烟机供胶装置及卷烟机
有效
申请
2022-11-08
申请公布
1970-01-01
授权
2023-04-07
预估到期
2032-11-08
| 申请号 | CN202222973253.X |
| 申请日 | 2022-11-08 |
| 授权公布号 | CN218790471U |
| 授权公告日 | 2023-04-07 |
| 分类号 | A24C5/24;B05B12/00 |
| 分类 | 烟草;雪茄烟;纸烟;吸烟者用品; |
| 申请人名称 | 深圳烟草工业有限责任公司 |
| 申请人地址 | 广东省深圳市龙华新区龙华街道清宁路2号 |
专利法律状态
2023-04-07
授权
状态信息
授权
摘要
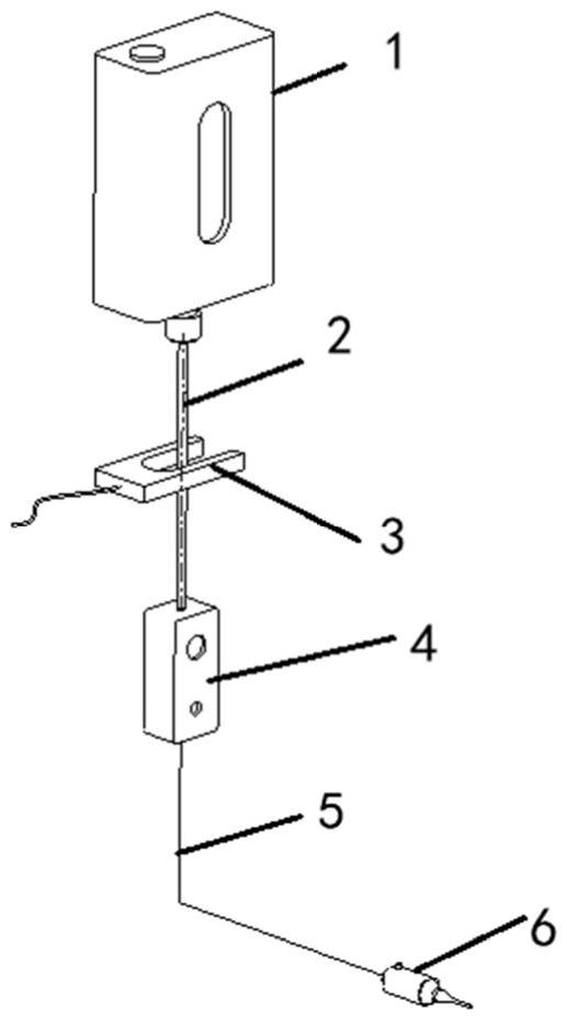
本实用新型公开了一种卷烟机供胶装置,包括胶水桶、流量计、喷胶嘴、出胶管道和施胶管道,所述胶水桶的出口连接所述出胶管道的入口,所述出胶管道的出口连接所述施胶管道的入口,所述施胶管道的出口连接所述喷胶嘴,所述流量计设置在所述出胶管道或所述施胶管道上。本实用新型提供的卷烟机供胶装置,通过设置在出胶管道上的流量计实时检测搭口胶出胶管道或施胶管道的实际流量,以在搭口胶实际施胶量出现异常时及时通知工作人员,避免产生大量缺陷产品。


