授权公布号:CN220246132U
一种小麦蛋白提取装置
有效
申请
2023-06-16
申请公布
1970-01-01
授权
2023-12-26
预估到期
2033-06-16
| 申请号 | CN202321555568.0 |
| 申请日 | 2023-06-16 |
| 授权公布号 | CN220246132U |
| 授权公告日 | 2023-12-26 |
| 分类号 | C12M1/40;C12M1/02;C12M1/38;C12M1/34;C12M1/12;C12M1/00;B08B9/093 |
| 分类 | 生物化学;啤酒;烈性酒;果汁酒;醋;微生物学;酶学;突变或遗传工程; |
| 申请人名称 | 上海蜂花日用品有限公司 |
| 申请人地址 | 上海市闵行区北松路1501号,紫东路518弄1-9号 |
专利法律状态
2023-12-26
授权
状态信息
授权
摘要
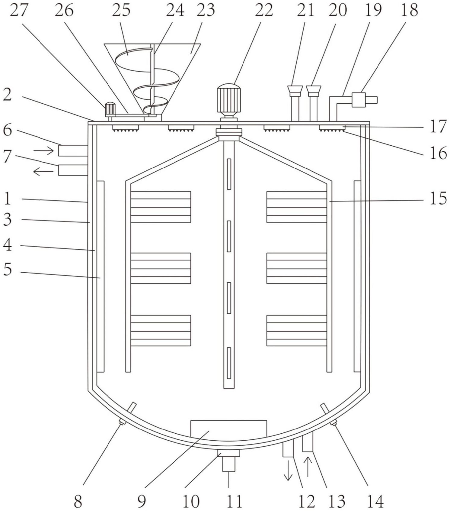
本实用新型涉及一种小麦蛋白提取装置,包括罐体和罐盖,罐盖顶部外侧设有进料斗、进水管,进料斗内部设有在第二转轴带动下旋转的螺旋叶,进水管连接分布在罐盖内侧的喷水管道和喷嘴,罐体内部设有框式搅拌装置,第一转轴和搅拌杆在第一电机带动下同轴转动,且第一转轴和搅拌杆两侧设有平行相错的搅拌叶组合,搅拌叶组合内部水平排列倾斜设置的搅拌叶片,罐体内部底部固定安装卧式离心机。本实用新型在进料斗中安装螺旋叶,从而缓慢加入小麦蛋白粉,同时采用一种框式搅拌装置与卧式离心机配合,防止低温下小麦蛋白粉与水结块,在罐体底部和中间聚集大颗粒,从而将小麦蛋白搅拌更均匀、溶解更充分。


