授权公布号:CN206852270U
一种化妆品容器
失效
申请
2017-01-19
申请公布
1970-01-01
授权
2018-01-09
预估到期
2027-01-19
| 申请号 | CN201720061328.3 |
| 申请日 | 2017-01-19 |
| 授权公布号 | CN206852270U |
| 授权公告日 | 2018-01-09 |
| 分类号 | A45D34/00 |
| 分类 | 手携物品或旅行品; |
| 申请人名称 | 南阳市澳福来实业有限责任公司 |
| 申请人地址 | 河南省南阳市镇平县工业园区 |
专利法律状态
2018-01-09
授权
状态信息
授权
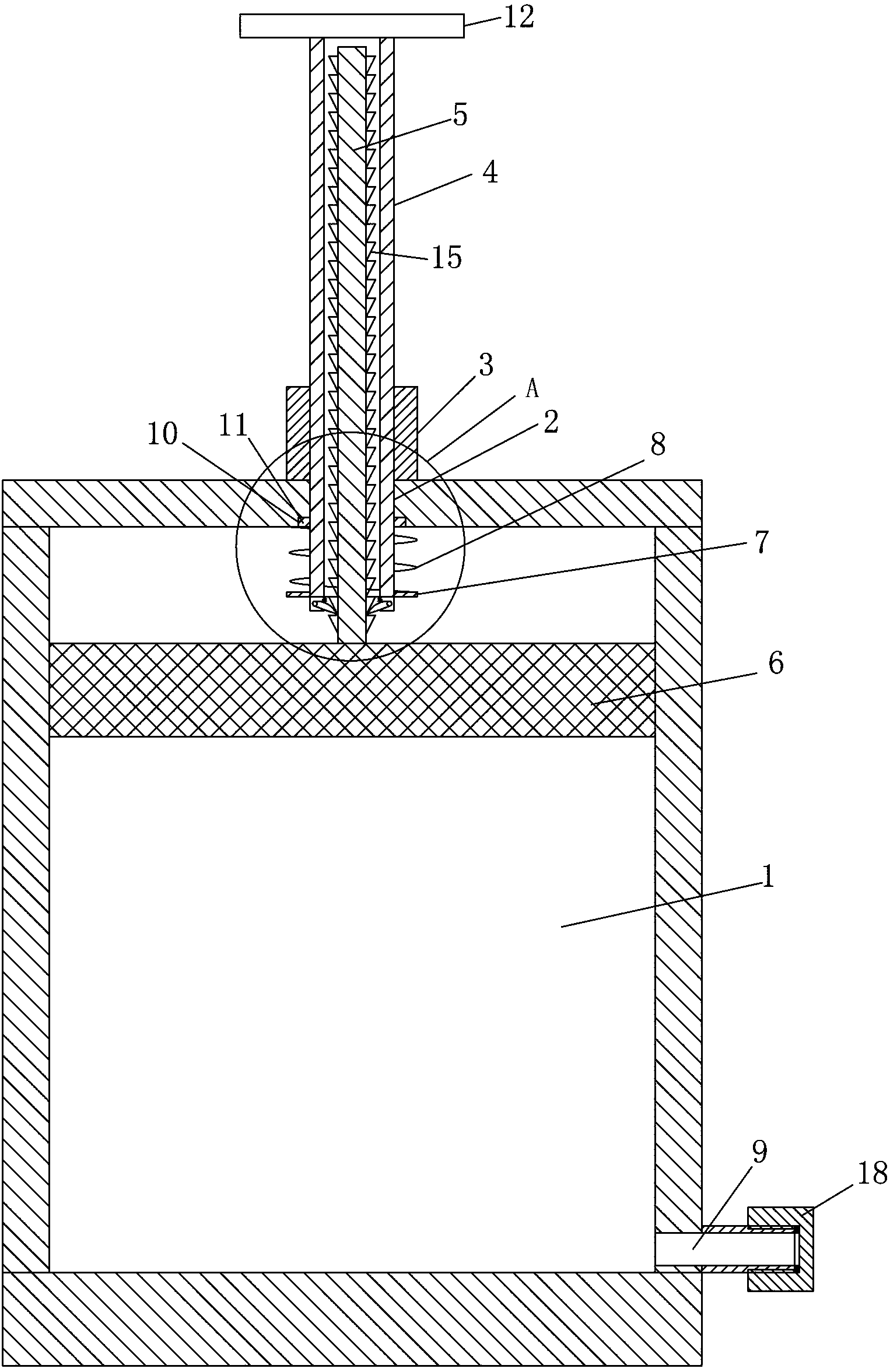
摘要
本实用新型提供一种化妆品容器,解决了现有的化妆品容器一开封就使得其中的化妆品暴露于空气中,影响化妆品的质量。包括上下封闭的密封筒体,所述密封筒体上端固定有盖在筒体上端通孔上的固定筒,固定筒内滑动穿设有一端置于密封筒体内的压力筒,压力筒内穿设有活动杆,活动杆的下端固定有与密封筒体内侧壁密封配合的橡胶活塞,压力筒下端径向向外延伸有环形支撑台,环形支撑台和密封筒体上侧壁内侧面之间设有套在压力筒上的弹簧,压力筒和活动杆之间设有上下移动压力筒可使活动杆单向向下移动的结构,密封筒体侧壁上设有连通到密封筒体底部的出液管,出液管上设有当不出液时的密封结构,橡胶活塞和密封筒体上端之间连通外界大气。


