授权公布号:CN205219171U
监狱专用纱剪
有效
申请
2015-11-02
申请公布
1970-01-01
授权
2016-05-11
预估到期
2025-11-02
| 申请号 | CN201520863097.9 |
| 申请日 | 2015-11-02 |
| 授权公布号 | CN205219171U |
| 授权公告日 | 2016-05-11 |
| 分类号 | B26B13/00;B26B13/12 |
| 分类 | 手动切割工具;切割;切断; |
| 申请人名称 | 福建大吉刀剪五金有限公司 |
| 申请人地址 | 福建省宁德市福鼎市星火工业园区南首 |
专利法律状态
2016-05-11
授权
状态信息
授权
摘要
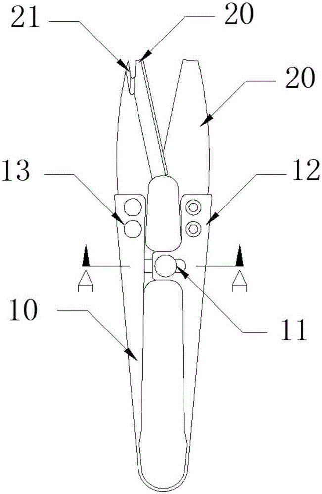
本实用新型提供一种监狱专用纱剪,包括刀柄和平头刀片,所述刀柄呈U型结构,包括左柄和右柄,所述平头刀片包括2个,分别固定安装在刀柄的左柄前部和右柄前部,其中一个平头刀片前端设有挑线槽,所述挑线槽的开口部位内侧开刃,并且挑线槽的左侧为尖头状,右侧为平头状。带挑线槽的平头刀片,使挑线、剪线更方便;挑线槽两侧一个尖头和一个平头的设置,能够在原有挑线功能不受影响的情况下,提高安全性由钣金件折弯成型的刀柄,相比塑料来说更不易损坏,尤其是在监狱使用时,刀柄能够更牢靠地被栓住,从而保证使用安全;折弯的钣金刀柄提高了回弹力,通过铆钉和限位槽的配合使用起来更加顺手,不易拆卸,在监狱内使用时更加安全。


