授权公布号:CN204270288U
一种固态硬盘的测试平台
有效
申请
2014-12-12
申请公布
1970-01-01
授权
2015-04-15
预估到期
2024-12-12
| 申请号 | CN201420796447.X |
| 申请日 | 2014-12-12 |
| 授权公布号 | CN204270288U |
| 授权公告日 | 2015-04-15 |
| 分类号 | G06F11/22 |
| 分类 | 计算;推算;计数; |
| 申请人名称 | 特科芯有限公司 |
| 申请人地址 | 江苏省苏州市工业园区港田路99号港田工业坊4号厂房3楼 |
专利法律状态
2015-04-15
授权
状态信息
授权
摘要
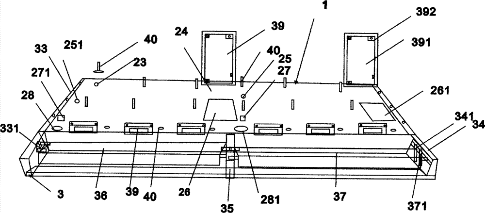
本实用新型涉及了一种固态硬盘的测试平台,包括测试平台本体,测试平台本体包括测试平台台面和底架,测试平台台面通过螺丝固定在底架上;测试平台台面上设有第一和第二电脑主板区,第一电和第二电脑主板区分别设有多个支撑定位孔,第一和第二电脑主板区之间的区域,第一电脑主板区的左边设有第一开关电源线孔,其正前方设有第一开关定位孔,第一开关定位孔的前方设有第一工具口;通过上述技术,整个设计考虑周全,通过两块电脑主板分别连接多个固态硬盘,可同时或分开测试,操作方便简单,通过不同的电源线孔孔能有效收纳放置连接线,避免连接线过多而导致的杂乱,整体安全性高,可靠性强,而且稳定。


