授权公布号:CN208956274U
蓝牙耳机
有效
申请
2018-09-10
申请公布
1970-01-01
授权
2019-06-07
预估到期
2028-09-10
| 申请号 | CN201821481515.8 |
| 申请日 | 2018-09-10 |
| 授权公布号 | CN208956274U |
| 授权公告日 | 2019-06-07 |
| 分类号 | H04R1/10 |
| 分类 | 电通信技术; |
| 申请人名称 | 深圳市森电电子有限公司 |
| 申请人地址 | 广东省深圳市宝安区松岗街道树边坑路鼎丰富比伦科技园3#厂房1-3层 |
专利法律状态
2019-06-07
授权
状态信息
授权
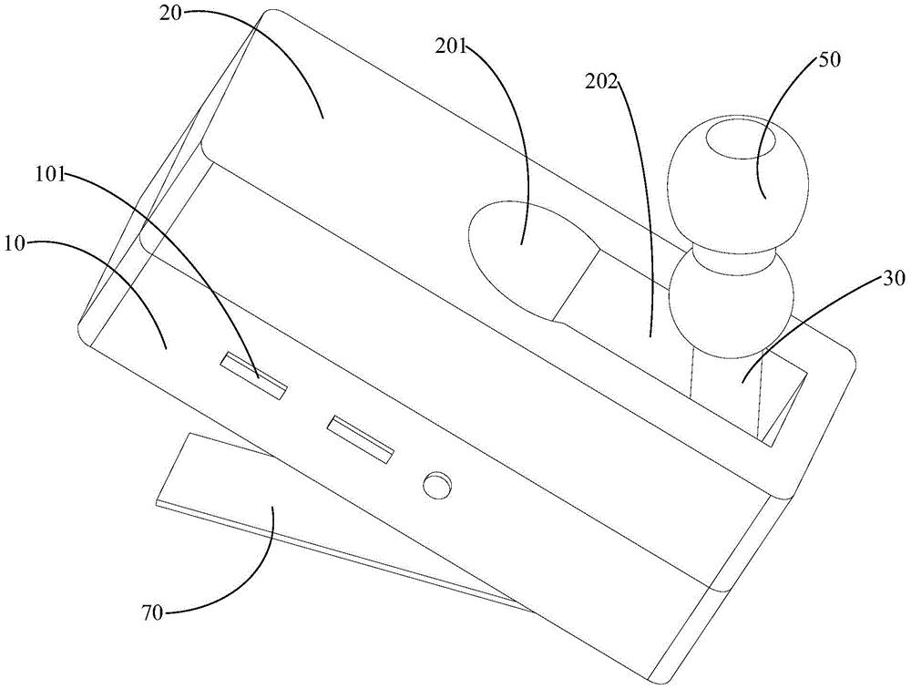
摘要
本实用新型公开一种蓝牙耳机,所述蓝牙耳机包括:包括壳体、耳机头以及连接壳体和耳机头的连接件,壳体包括外壳以及与外壳相适配的内壳,连接件与内壳转动连接,内壳上设有用于容置耳机头的容置腔以及用于容置连接件的凹槽,耳机头包括防尘网、硅胶套以及固定环,连接件的自由端设有出音孔,防尘网位于固定环和连接件的自由端之间,固定环与连接件的自由端可拆卸连接。本实用新型技术方案中,通过在内壳上设置容置腔,在不需要使用时将耳机头放置在容置腔中,并将防尘网设置固定环与连接件的自由端之间,同时固定环与连接件可拆卸连接,便于在防尘网堵塞时拆卸防尘网进行清洗,保证耳机头干净,提高用户的使用体验。


