授权公布号:CN217387502U
天线及无线通信设备
有效
申请
2022-02-25
申请公布
1970-01-01
授权
2022-09-06
预估到期
2032-02-25
| 申请号 | CN202220407292.0 |
| 申请日 | 2022-02-25 |
| 授权公布号 | CN217387502U |
| 授权公告日 | 2022-09-06 |
| 分类号 | H01Q1/08;H01Q1/24;H01Q1/36;H01Q1/50;H01Q3/36;H01Q9/16;H04B1/401 |
| 分类 | 基本电气元件; |
| 申请人名称 | 深圳市美科星通信技术有限公司 |
| 申请人地址 | 广东省深圳市南山区高新区高新南四道023号高新工业村R1号B区第三层西段 |
专利法律状态
2022-09-06
授权
状态信息
授权
摘要
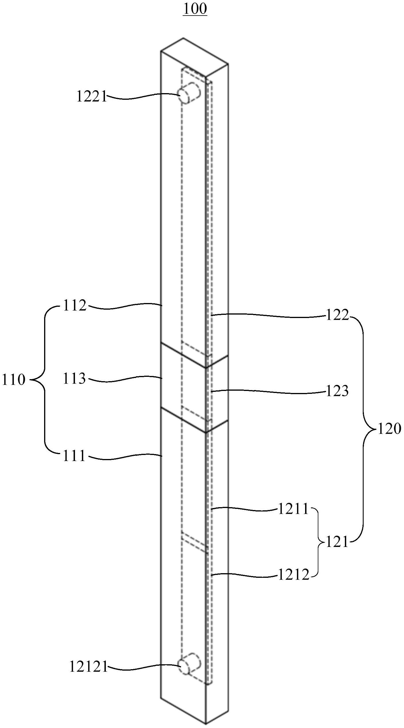
本实用新型涉及无线通信技术领域,提供一种天线及无线通信设备,天线包括外壳和辐射体,外壳包括第一壳体和第二壳体,第一壳体与第二壳体可折叠地连接,辐射体包括第一偶极子、第二偶极子和柔性反相器,第一偶极子设置于第一壳体内,第二偶极子设置于第二壳体内,柔性反相器连接于第一偶极子和第二偶极子之间,第一偶极子包括第一振子臂和第二振子臂,第一振子臂与柔性反相器相连接,且第一振子臂上设有馈电点,第二振子臂与第一振子臂相绝缘设置,且第二振子臂上设有接地点,第二偶极子能够在第一壳体与第二壳体折叠后与第二振子臂相连接。通过采用上述技术方案,可使上述天线不论处于展开状态还是处于折叠状态均能正常工作。


