授权公布号:CN217577046U
物料输送装置及生产设备
有效
申请
2022-06-17
申请公布
1970-01-01
授权
2022-10-14
预估到期
2032-06-17
| 申请号 | CN202221550791.1 |
| 申请日 | 2022-06-17 |
| 授权公布号 | CN217577046U |
| 授权公告日 | 2022-10-14 |
| 分类号 | B65G47/06 |
| 分类 | 输送;包装;贮存;搬运薄的或细丝状材料; |
| 申请人名称 | 深圳市美科星通信技术有限公司 |
| 申请人地址 | 广东省深圳市南山区高新区高新南四道023号高新工业村R1号B区第三层西段 |
专利法律状态
2022-10-14
授权
状态信息
授权
摘要
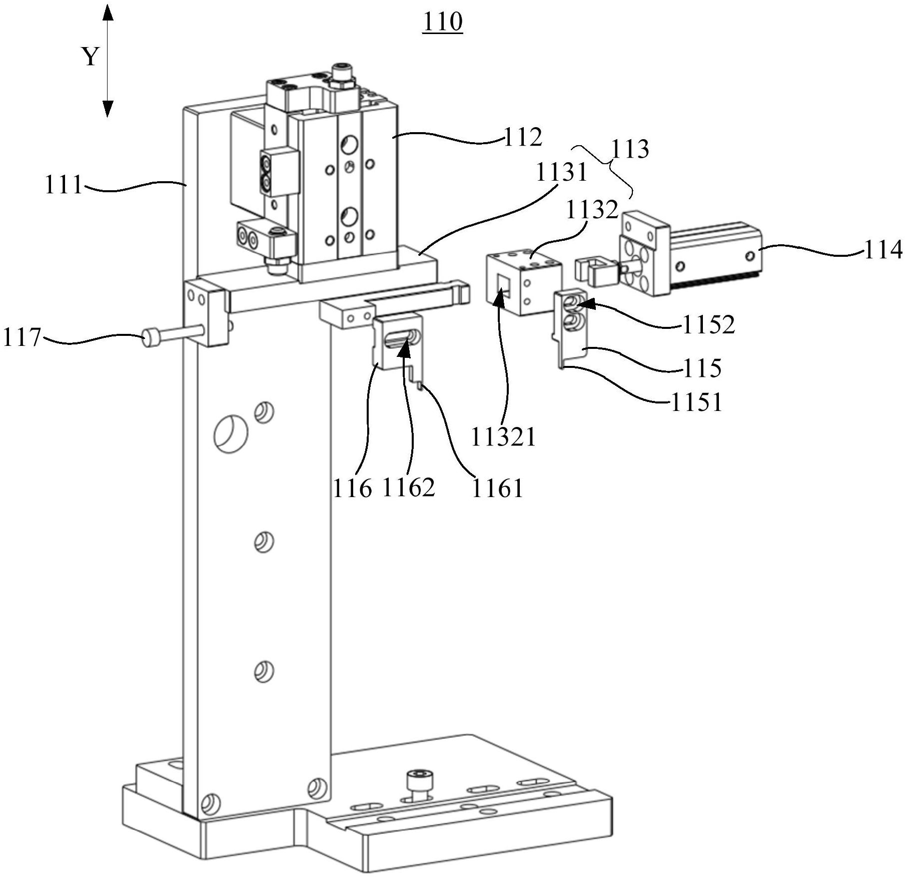
本申请提供了一种物料输送装置及生产设备,上述物料输送装置包括:送料组件,包括送料座,送料座上开设有沿第一方向延伸的送料槽,多个物料依次排布在送料槽内;拨料组件,包括第一安装座、第一驱动器、第二安装座、第二驱动器、挡料件以及拨料件,第一驱动器用于驱动第二安装座沿垂直于第一方向的第二方向往复移动,第二驱动器用于驱动拨料件沿第一方向往复移动,挡料件具有挡料部,拨料件具有拨料部,拨料部位于挡料部的背离送料槽的进料端的一侧,且挡料部和拨料部置入处于送料槽的出料端的两个物料之间。上述物料输送装置能够有效实现将送料槽中的物料逐一输出,从而避免了物料输送装置发生卡料故障,有效提高了物料输送装置的可靠性。


