授权公布号:CN116598057B
一种具有异型结构部件的光纤带光缆
有效
申请
2023-07-17
申请公布
2023-08-15
授权
2023-10-24
预估到期
2043-07-17
| 申请号 | CN202310873553.7 |
| 申请日 | 2023-07-17 |
| 申请公布号 | CN116598057A |
| 申请公布日 | 2023-08-15 |
| 授权公布号 | CN116598057B |
| 授权公告日 | 2023-10-24 |
| 分类号 | H01B9/00;H01B11/22;H01B7/40;H01B7/282 |
| 分类 | 基本电气元件; |
| 申请人名称 | 江苏永鼎股份有限公司 |
| 申请人地址 | 江苏省苏州市吴江区黎里镇318国道74K处芦墟段北侧 |
专利法律状态
2023-10-24
授权
状态信息
授权
2023-08-15
公布
状态信息
公布
摘要
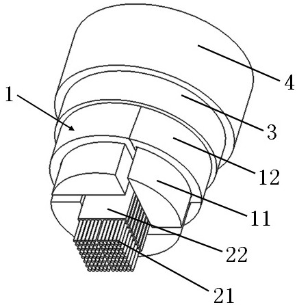
本发明属于光电技术领域,公开了一种具有异型结构部件的光纤带光缆,具有缆芯、保护层(3)、外护套(4),缆芯由四个异型输电单元(1)、光纤带构成,缆芯的横截面为圆形,异型输电单元由导体(11)、绝缘层(12)构成;其特征在于:绝缘层由第一绝缘壁体、第二绝缘壁体、第三绝缘壁体构成,所有异型输电单元的第一绝缘壁体的外缘在同一圆周上,所有异型输电单元的第一绝缘壁体的外缘拼合形成一个完整的圆,所有异型输电单元拼合形成位于中央的正方形的中心腔;光纤带位于中心腔内。本申请具有以下主要有益技术效果:结构简单、易于制造、敷设方便、纤芯密度高、空间占用少、防潮性能更优、安全性高、成本低。


