授权公布号:CN116995399B
优化回波损耗同轴电缆生产方法、同轴电缆及生产装置
有效
申请
2023-09-26
申请公布
2023-11-03
授权
2023-12-19
预估到期
2043-09-26
| 申请号 | CN202311246495.1 |
| 申请日 | 2023-09-26 |
| 申请公布号 | CN116995399A |
| 申请公布日 | 2023-11-03 |
| 授权公布号 | CN116995399B |
| 授权公告日 | 2023-12-19 |
| 分类号 | H01P11/00;H01P3/06;H01Q13/08;H01B13/016;H01B13/14;H01B13/24;H01Q13/20;H01B11/18 |
| 分类 | 基本电气元件; |
| 申请人名称 | 长飞光纤光缆股份有限公司 |
| 申请人地址 | 湖北省武汉市东湖新技术开发区光谷大道九号 |
专利法律状态
2023-12-19
授权
状态信息
授权
2023-11-21
实质审查的生效
状态信息
实质审查的生效;IPC(主分类):H01P11/00;申请日:20230926
2023-11-03
公布
状态信息
公布
摘要
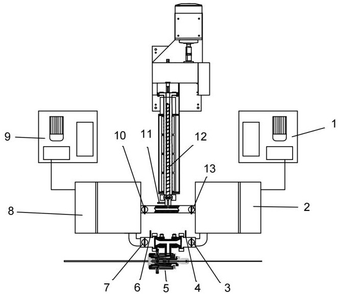
本发明公开了一种优化回波损耗同轴电缆生产方法、同轴电缆及生产装置。所述方法包括以下步骤:在内导体外侧挤出发泡PE料高压融体并冷却定型形成发泡绝缘层,获得具有发泡绝缘层的内导体;在具有发泡绝缘层的内导体外侧纵包外导体金属带形成外导体,并在外导体外侧挤出护套料形成外护套,获得所述同轴电缆;在内导体外侧挤出发泡PE料高压融体时,使发泡PE料高压融体依次经过螺旋挤出和恒压推挤机,附着于所述内导体外侧,发泡后经冷却定型形成发泡绝缘层。本发明通过串联的螺旋挤出机和恒压推挤机,结合螺旋挤出和恒压推挤的方式进行进料,克服了周期性运动导致的周期性缺陷峰值,起到“削峰填谷”的作用,优化回波损耗。


