授权公布号:CN107178808B
一种集成灶
有效
申请
2017-06-28
申请公布
2017-09-19
授权
2023-07-25
预估到期
2037-06-28
| 申请号 | CN201710505181.7 |
| 申请日 | 2017-06-28 |
| 申请公布号 | CN107178808A |
| 申请公布日 | 2017-09-19 |
| 授权公布号 | CN107178808B |
| 授权公告日 | 2023-07-25 |
| 分类号 | F24C15/20 |
| 分类 | 供热;炉灶;通风; |
| 申请人名称 | 浙江厨壹堂厨房电器股份有限公司 |
| 申请人地址 | 浙江省嘉兴市海宁市盐官镇工业园区杏花路10号 |
专利法律状态
2023-07-25
授权
状态信息
授权
2017-10-20
实质审查的生效
状态信息
实质审查的生效;IPC(主分类):F24C15/20;申请日:20170628
2017-09-19
公布
状态信息
公布
摘要
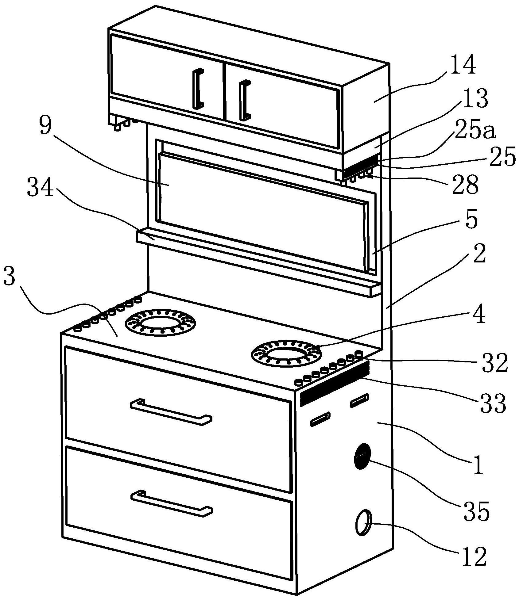
本发明提供了一种集成灶,解决了现有集成灶吸油烟效果存在不足等技术问题。本集成灶中,集成灶包括柜体和侧吸风壳体,柜体的顶部具有台面,台面上设置有灶头,侧吸风壳体竖直设置在灶头后侧的台面上,侧吸风壳体的顶部固定有加热箱,加热箱横向设置并向灶头方向伸出,其特征在于,拢烟装置包括分别设置在灶头两侧上方的第一下吹风装置和第二下吹风装置,以及包括分别设置在灶头两侧的第一上吹风装置和第二上吹风装置。本发明具有吸油烟效果好等优点。


