授权公布号:CN207559996U
一种ONU光模块调测装置
有效
申请
2017-10-26
申请公布
1970-01-01
授权
2018-06-29
预估到期
2027-10-26
| 申请号 | CN201721400141.8 |
| 申请日 | 2017-10-26 |
| 授权公布号 | CN207559996U |
| 授权公告日 | 2018-06-29 |
| 分类号 | H04B10/07 |
| 分类 | 电通信技术; |
| 申请人名称 | 深圳市飞鸿光电子有限公司 |
| 申请人地址 | 广东省深圳市西丽中山园路1001号TCL科学园区研发楼D1栋501A |
专利法律状态
2018-06-29
授权
状态信息
授权
摘要
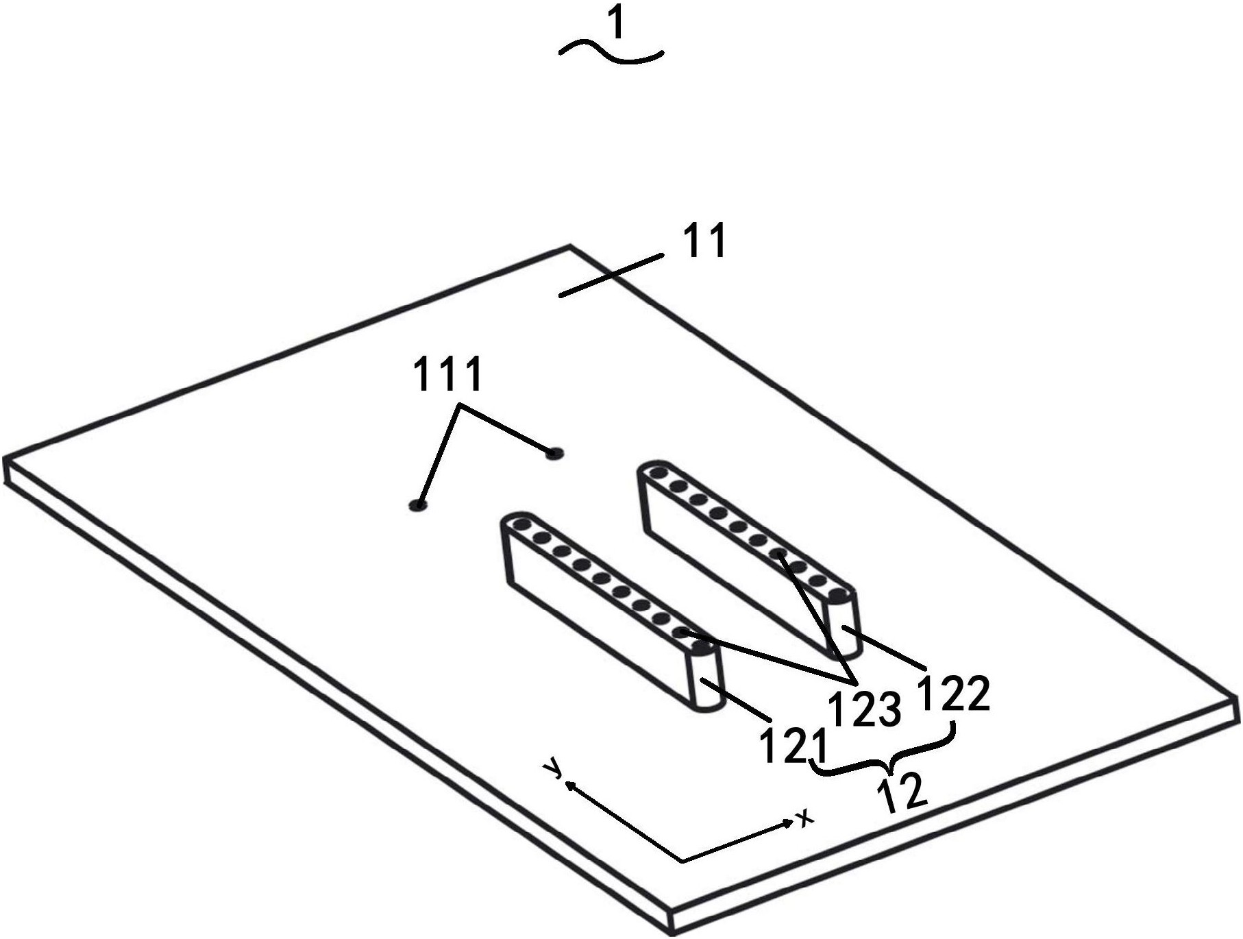
本实用新型实施方式公开了一种ONU光模块调测装置,所述调测装置包括:PCB板和插槽,所述插槽设置于所述PCB板一表面,其中,所述插槽包括第一槽位和第二槽位,所述第一槽位与所述第二槽位平行设置且上表面均设有第一插孔,所述PCB板设有插槽的表面开设第二插孔,所述第二插孔分别设置于所述第一槽位和所述第二槽位的长度方向上。通过上述方式,本实用新型能够对需要调测的ONU光模块进行快速替换和适配,提高调测效率,使得ONU光模块调测更加方便。


