授权公布号:CN205249497U
一种便携式产品
有效
申请
2015-12-04
申请公布
1970-01-01
授权
2016-05-18
预估到期
2025-12-04
| 申请号 | CN201521001616.7 |
| 申请日 | 2015-12-04 |
| 授权公布号 | CN205249497U |
| 授权公告日 | 2016-05-18 |
| 分类号 | H04W88/08;H02J7/00;H04W84/12 |
| 分类 | 电通信技术; |
| 申请人名称 | 深圳市斯凯荣科技有限公司 |
| 申请人地址 | 广东省深圳市南山区粤海街道麻岭社区深南大道9966号威盛科技大厦902 |
专利法律状态
2020-09-18
专利申请权、专利权的转移
状态信息
专利权的转移;IPC(主分类):H04W 88/08;专利号:ZL2015210016167;登记生效日:20200828;变更事项:专利权人;变更前权利人:深圳市斯凯荣科技有限公司;变更后权利人:深圳市斯凯荣科技有限公司;变更事项:地址;变更前权利人:518059 广东省深圳市南山区桃园路西海明珠大厦F座710-716号;变更后权利人:518057 广东省深圳市南山区粤海街道麻岭社区深南大道9966号威盛科技大厦902;变更事项:共同专利权人;变更前权利人:深圳市思博威尔斯科技有限公司;变更后权利人:
2016-05-18
实用新型专利权授予
状态信息
授权
摘要
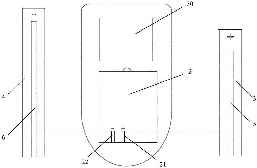
本实用新型公开了一种便携式产品,包括壳体、设于所述壳体内部的主控芯片、与所述主控芯片连接的无线通信模块、电源控制模块以及与所述电源控制模块连接的电池,所述便携式产品还包括设于所述壳体的外部两侧的第一凹槽和第二凹槽,所述第一凹槽上设有第一金属条,所述第一金属条与所述电池的正极对应连接;所述第二凹槽上设有第二金属条,所述第二金属条与所述电池的负极对应连接。本实用新型公开的一种便携式产品能够实现快速充电,操作方便简单。


