授权公布号:CN211792322U
一种拼板装置
有效
申请
2020-09-02
申请公布
1970-01-01
授权
2020-10-27
预估到期
2030-09-02
| 申请号 | CN202021880038.X |
| 申请日 | 2020-09-02 |
| 授权公布号 | CN211792322U |
| 授权公告日 | 2020-10-27 |
| 分类号 | H05K3/36;H05K3/30 |
| 分类 | 其他类目不包含的电技术; |
| 申请人名称 | 东莞栢能电子科技有限公司 |
| 申请人地址 | 广东省东莞市厚街镇三屯村 |
专利法律状态
2020-10-27
授权
状态信息
授权
摘要
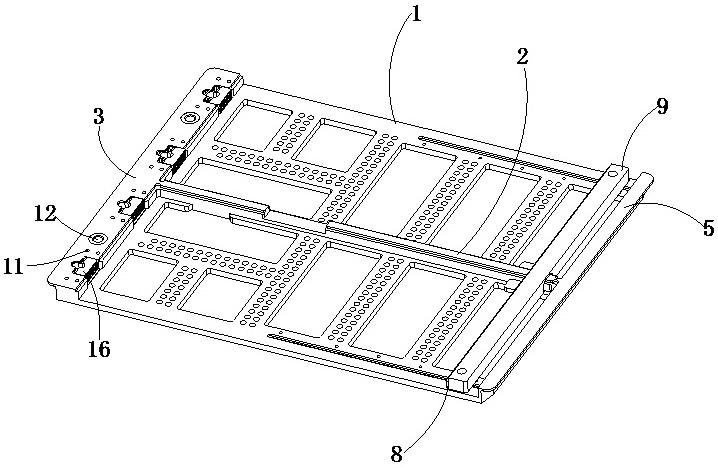
本实用新型涉及PCB加工设备领域,具体公开了一种拼板装置,包括基板,在所述基板的前后对称轴位置设置有横向定位梁,所述基板左端设置有左限位座,所述左限位座右端设置有压持组件,所述基板右端设置有右限位座,所述基板上纵向贯穿设置有排气孔,在所述横向定位梁前、后侧、位于所述基板上纵向贯穿设置有若干安放槽,所述横向定位梁上活动设置有移动杠,所述移动杠左表面上开设有固定槽。本实用新型通过设置压持组件以及移动杠配合使PCB板在加工的过程当中不会因为一端被施加了力而另一端翘起的情况,保证PCB板在贴片的过程当中不会跳出本装置。


