授权公布号:CN111239057B
汽柴油质量检测系统
有效
申请
2020-01-20
申请公布
2020-06-05
授权
2022-09-27
预估到期
2040-01-20
| 申请号 | CN202010066551.3 |
| 申请日 | 2020-01-20 |
| 申请公布号 | CN111239057A |
| 申请公布日 | 2020-06-05 |
| 授权公布号 | CN111239057B |
| 授权公告日 | 2022-09-27 |
| 分类号 | G01N21/25;G01N27/06;G01N11/04 |
| 分类 | 测量;测试; |
| 申请人名称 | 通标标准技术服务有限公司 |
| 申请人地址 | 北京市海淀区阜成路73号世纪裕惠大厦16层 |
专利法律状态
2022-09-27
授权
状态信息
授权
2020-06-05
公布
状态信息
公布
摘要
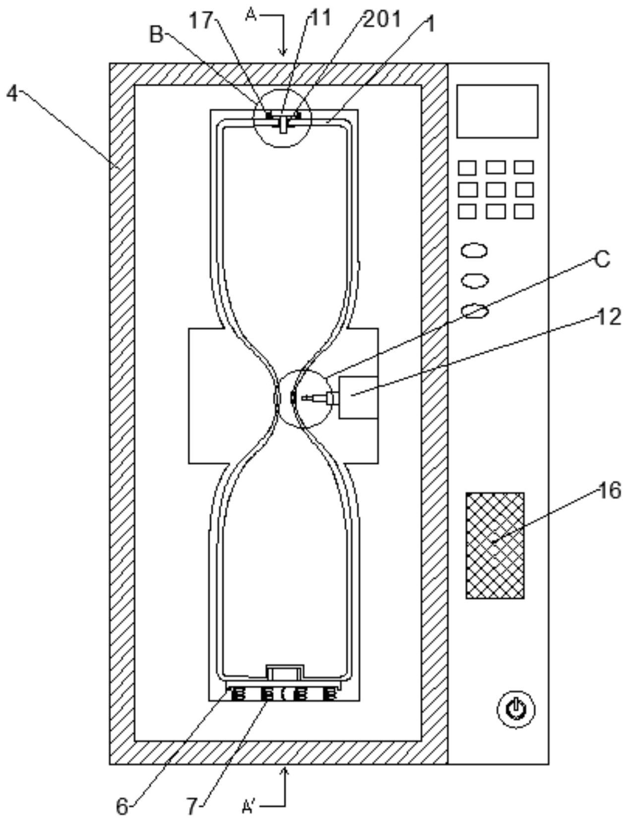
本发明公开了一种汽柴油质量检测系统,包括:样品管、检测主机、壳体、翻盖、两个喷液头、支撑隔板、样品管槽、压紧板、压缩弹簧、色度检测仪、电导测量装置、粘度传感器、粘度检测口、中心控制模块、储存模块、显示屏、键盘、扬声器等。本发明结构简单,体积小方便携带,检测速度快,相较于现有技术而言在测量汽柴油粘度时不用内设搅拌装置,测样时,一次性导入,卡接即可测量,样品管拆卸方便,检测速度快。


