授权公布号:CN218460035U
导热介质涂抹护栏
有效
申请
2022-09-14
申请公布
1970-01-01
授权
2023-02-10
预估到期
2032-09-14
| 申请号 | CN202222430788.2 |
| 申请日 | 2022-09-14 |
| 授权公布号 | CN218460035U |
| 授权公告日 | 2023-02-10 |
| 分类号 | B05C13/02 |
| 分类 | 一般喷射或雾化;对表面涂覆液体或其他流体的一般方法〔2〕; |
| 申请人名称 | 北京市九州风神科技股份有限公司 |
| 申请人地址 | 北京市海淀区地锦路9号院10号楼1至4层101 |
专利法律状态
2023-02-10
授权
状态信息
授权
摘要
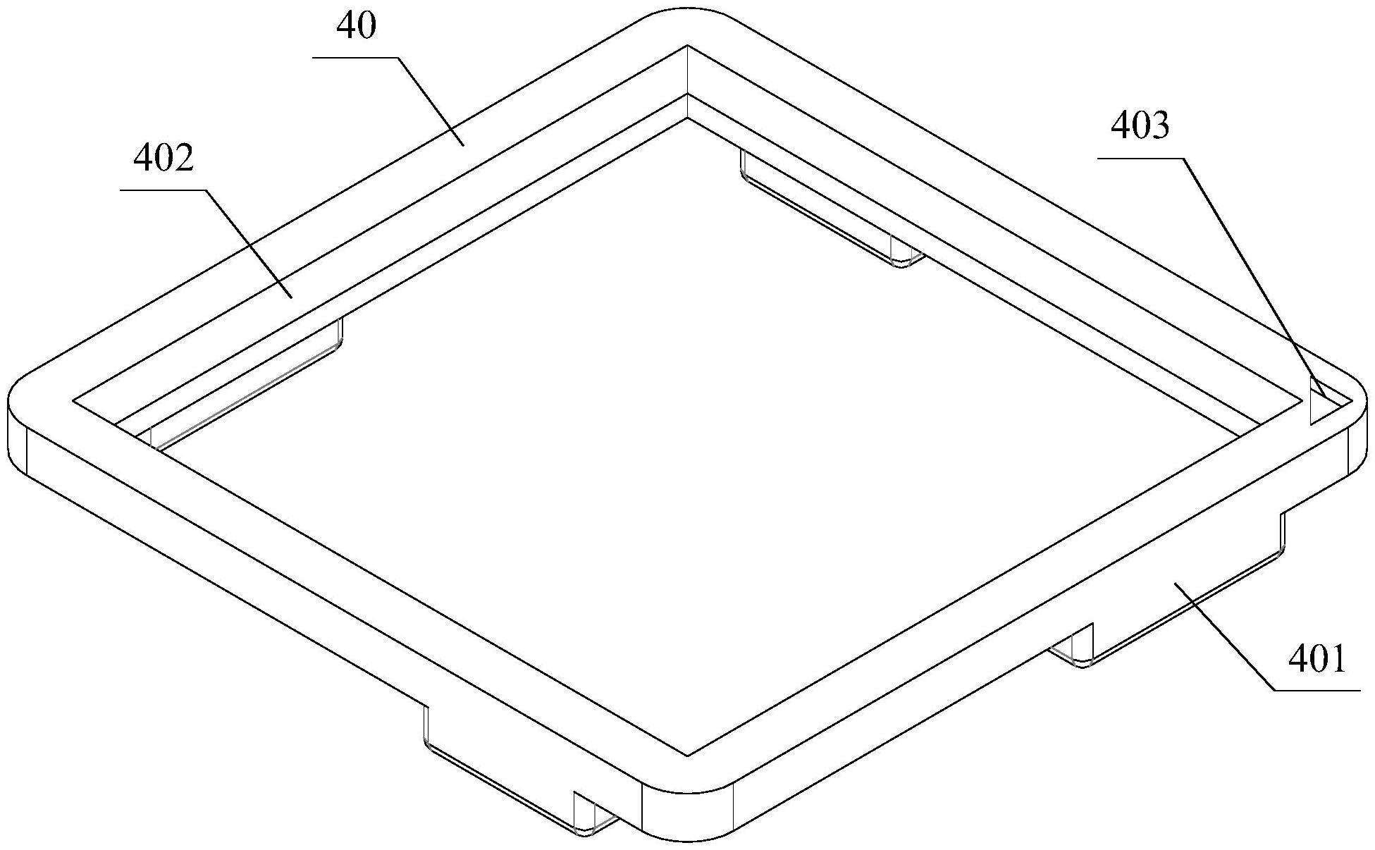
本实用新型公开了一种导热介质涂抹护栏,其适用于跟CPU的金属顶盖组合,金属顶盖的四边上各包括多个侧面凹槽,导热介质涂抹护栏包括设置于其四边底面上的至少一个底面凸块,底面凸块沿垂直于导热介质涂抹护栏的底面方向延伸,位于每条边底面上的至少一个底面凸块俯视方向的轮廓和位置与金属顶盖的一条边上的至少一个侧面凹槽俯视方向的轮廓和位置契合,底面凸块嵌设在侧面凹槽内,且导热介质涂抹护栏的底面内口能够完全遮盖住金属顶盖的多个侧面凹槽。本实用新型的导热介质涂抹护栏可方便在使用中利用刮刀将挤出的导热膏刮平,并防止导热膏渗入到CPU下边的裸露电子元件上。


