授权公布号:CN217562008U
笔头及书写笔
有效
申请
2022-03-15
申请公布
1970-01-01
授权
2022-10-11
预估到期
2032-03-15
| 申请号 | CN202220564426.X |
| 申请日 | 2022-03-15 |
| 授权公布号 | CN217562008U |
| 授权公告日 | 2022-10-11 |
| 分类号 | G06F3/0354;G06F3/041 |
| 分类 | 计算;推算;计数; |
| 申请人名称 | 深圳市皓丽智能科技有限公司 |
| 申请人地址 | 广东省深圳市龙岗区坂田街道岗头社区五和大道4023号1号楼第二层E区 |
专利法律状态
2022-10-11
授权
状态信息
授权
摘要
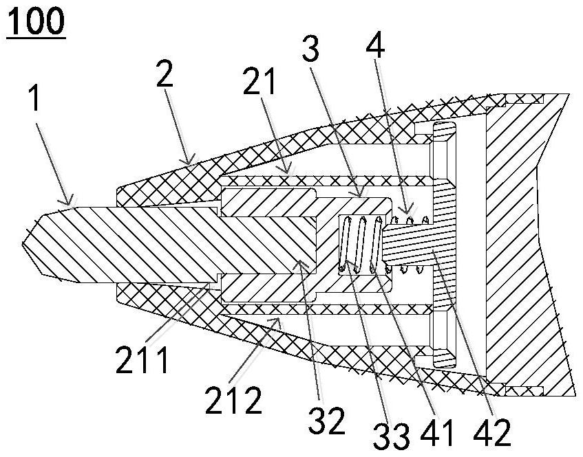
本实用新型公开了一种笔头及书写笔,包括笔头外壳,笔头外壳内部设有腔体,笔头还包括固定设置于腔体内的弹性件、连接于弹性件的笔尖固定件,以及一端与笔尖固定件固定连接的笔尖,笔尖的另一端贯穿腔体外露于笔头外壳;其中,腔体上还设置有导轨,笔尖固定件与导轨滑动连接,且笔尖固定件能够在弹性件的伸缩方向上沿导轨滑动。本实用新型通过笔尖固定件和弹性件使笔尖与笔头外壳弹性连接,可以降低书写过程中产生的摩擦噪音。


