授权公布号:CN215343276U
笔记本可拆卸多接口拓展坞
有效
申请
2021-08-03
申请公布
1970-01-01
授权
2021-12-28
预估到期
2031-08-03
| 申请号 | CN202121811434.1 |
| 申请日 | 2021-08-03 |
| 授权公布号 | CN215343276U |
| 授权公告日 | 2021-12-28 |
| 分类号 | H01R27/00;H01R13/52;G06F1/16;G06F1/20 |
| 分类 | 基本电气元件; |
| 申请人名称 | 深圳中柏科技有限公司 |
| 申请人地址 | 广东省深圳市龙岗区坪地街道坪西社区坪西南路13-2号101、102、201、301 |
专利法律状态
2021-12-28
授权
状态信息
授权
摘要
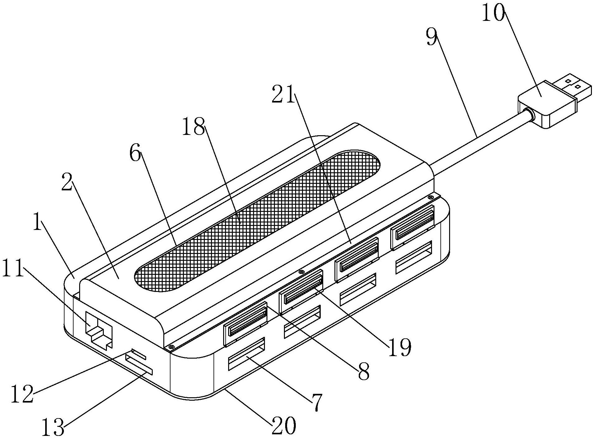
本申请公开了笔记本可拆卸多接口拓展坞,涉及电脑配件技术领域,改善拓展坞温度过高时会影响工作效率的问题,包括拓展坞本体和安装在拓展坞本体顶部的散热壳体,所述散热壳体的底部固定安装有导热板,所述导热板的上表面固定连接有散热片,所述散热壳体内部位于散热片的上方固定安装有散热扇,所述散热壳体的顶部开设有散热口,所述拓展坞本体的一侧设有USB接口,所述拓展坞本体靠近USB接口一侧的顶部转动安装有密封盖。本申请通过密封盖可对USB接口进行密封,通过散热壳体的设置,可对拓展坞本体进行有效散热,降低拓展坞本体的温度,防止拓展坞温度过高而影响接口的传输速率,延长导致拓展坞的使用寿命。


