授权公布号:CN112230791B
压电片、触摸面板、及输入输出装置
有效
申请
2014-11-11
申请公布
2021-01-15
授权
2024-03-26
预估到期
2034-11-11
| 申请号 | CN202010961167.X |
| 申请日 | 2014-11-11 |
| 申请公布号 | CN112230791A |
| 申请公布日 | 2021-01-15 |
| 授权公布号 | CN112230791B |
| 授权公告日 | 2024-03-26 |
| 分类号 | G06F3/041;G06F3/044;G06F3/045;G06F3/01 |
| 分类 | 计算;推算;计数; |
| 申请人名称 | 天马微电子股份有限公司 |
| 申请人地址 | 广东省深圳市龙华区民治街道北站社区留仙大道天马大厦1918 |
专利法律状态
2024-03-26
授权
状态信息
授权
2021-01-15
公布
状态信息
公布
摘要
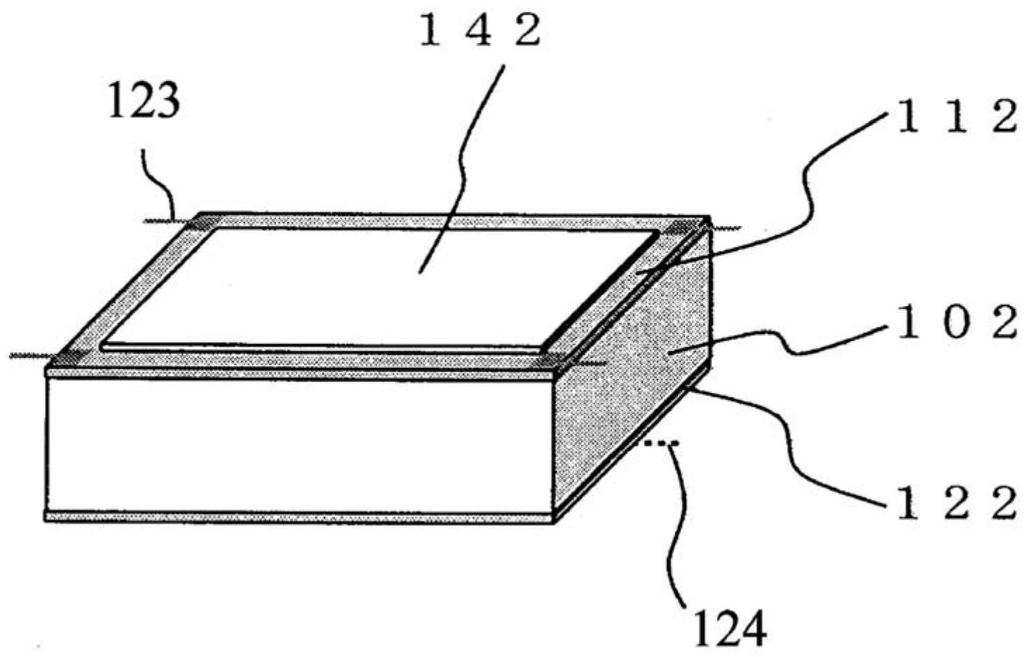
本发明涉及压电片、触摸面板、及输入输出装置,提供一种压电片,包括:压电体层;第一导电体层,所述第一导电体层配置在所述压电体层的一个表面上;第二导电体层,所述第二导电体层配置在所述压电体层的另一个表面上;以及绝缘体层,所述绝缘体层配置于所述第一导电体层的与所述压电体层所在的面相反的面,其中,所述压电片被构成为通过检测从所述第一导电体层流到人体的电流而使用所述第一导电体层检测所述绝缘体层上的触摸位置,并通过测量由所述压电体层的压电极化产生的电荷而使用所述第二导电体层来检测所述绝缘体层上的触摸压力。


