授权公布号:CN112148151B
显示面板、显示装置及触控方法
有效
申请
2020-09-30
申请公布
2020-12-29
授权
2023-06-13
预估到期
2040-09-30
| 申请号 | CN202011058886.7 |
| 申请日 | 2020-09-30 |
| 申请公布号 | CN112148151A |
| 申请公布日 | 2020-12-29 |
| 授权公布号 | CN112148151B |
| 授权公告日 | 2023-06-13 |
| 分类号 | G06F3/041;G06F3/044;G02F1/1333 |
| 分类 | 计算;推算;计数; |
| 申请人名称 | 天马微电子股份有限公司 |
| 申请人地址 | 广东省深圳市福田区深南中路航都大厦22层南 |
专利法律状态
2023-06-13
授权
状态信息
授权
2021-01-15
实质审查的生效
状态信息
实质审查的生效;IPC(主分类):G06F3/041;申请日:20200930
2020-12-29
公布
状态信息
公布
摘要
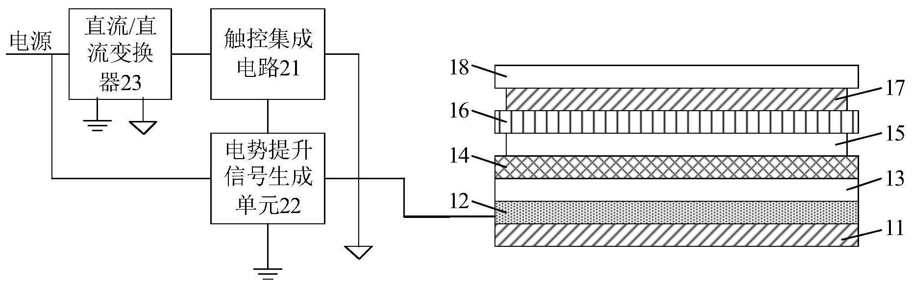
本申请提供了一种显示面板、显示装置及触控方法,涉及显示技术领域。该显示面板,包括阵列基板、液晶层、彩膜基板、设置于阵列基板背向液晶层的一侧的屏蔽层、设置于阵列基板与彩膜基板之间的触控电极层、触控集成电路和电势提升信号生成单元;电势提升信号生成单元与屏蔽层电连接,用于为屏蔽层提供电势提升信号,电势提升信号用于升高触控电极层的对地电压;触控集成电路与触控电极层电连接,用于为触控电极层提供驱动信号,以及用于获取触控电极层反馈的感应信号,感应信号的电压值与触控电极层的对地电压呈正相关。利用本申请的技术方案能够增大显示面板实现的悬浮触控距离。


