授权公布号:CN218962274U
一种浆液乳化机
有效
申请
2023-01-09
申请公布
1970-01-01
授权
2023-05-05
预估到期
2033-01-09
| 申请号 | CN202320074978.7 |
| 申请日 | 2023-01-09 |
| 授权公布号 | CN218962274U |
| 授权公告日 | 2023-05-05 |
| 分类号 | B01F23/41;B01F27/80;B01F25/50;B01F101/22N |
| 分类 | 一般的物理或化学的方法或装置; |
| 申请人名称 | 广州白云山敬修堂药业股份有限公司 |
| 申请人地址 | 广东省广州市荔湾区人民南路179号 |
专利法律状态
2023-05-05
授权
状态信息
授权
摘要
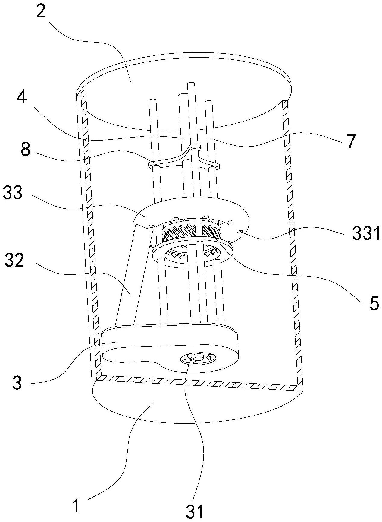
本实用新型涉及浆液乳化技术领域,特别是涉及浆液乳化机,包括设有端盖的桶体,桶体内设有与桶体的底壁上下间隔布置的泵壳,泵壳的内腔中设有叶轮,泵壳的下端设有与内腔连通的进液口,泵壳的上端设有与内腔连通的出液口;盖板的中部转动连接有竖直向下延伸的转轴,转轴的中部外侧固定有乳化头,转轴的下端与叶轮止转连接,出液口连接有管体,管体远离出液口的一端延伸至乳化头的上方;盖板的上端设有电机,电机驱动转轴带动叶轮和乳化头转动,将桶体底部的浆液抽送至管体的出液端,桶体内的浆液能够反复上下循环,受到乳化头的搅拌作用;本实用新型的浆液乳化机,仅用一个电机即可实现乳化头的转动和浆液的循环,结构简单、成本较低。


